Online Parts Catalog For Doosan Excavator
Online Parts Catalog For Doosan Excavator - The next leap was the 360-degree view, allowing the user to click and drag to rotate the product as if it were floating in front of them. Practice Regularly: Aim to draw regularly, even if it's just for a few minutes each day. " On its surface, the term is a simple adjective, a technical descriptor for a file or document deemed suitable for rendering onto paper. By starting the baseline of a bar chart at a value other than zero, you can dramatically exaggerate the differences between the bars. We encourage you to read this manual thoroughly before you begin, as a complete understanding of your planter’s functionalities will ensure a rewarding and successful growing experience for years to come. The origins of crochet are somewhat murky, with various theories and historical references pointing to different parts of the world. The product is shown not in a sterile studio environment, but in a narrative context that evokes a specific mood or tells a story. The small images and minimal graphics were a necessity in the age of slow dial-up modems. 36 The daily act of coloring in a square or making a checkmark on the chart provides a small, motivating visual win that reinforces the new behavior, creating a system of positive self-reinforcement. They are fundamental aspects of professional practice. This owner's manual has been carefully prepared to help you understand the operation and maintenance of your new vehicle so that you may enjoy many years of driving pleasure. To begin, navigate to your device’s app store and search for the "Aura Grow" application. If a warning lamp illuminates, do not ignore it. He likes gardening, history, and jazz. As you become more comfortable with the process and the feedback loop, another level of professional thinking begins to emerge: the shift from designing individual artifacts to designing systems. It has made our lives more convenient, given us access to an unprecedented amount of choice, and connected us with a global marketplace of goods and ideas. This surveillance economy is the engine that powers the personalized, algorithmic catalog, a system that knows us so well it can anticipate our desires and subtly nudge our behavior in ways we may not even notice. Your safety and the safety of your passengers are always the top priority. Gail Matthews, a psychology professor at Dominican University, found that individuals who wrote down their goals were a staggering 42 percent more likely to achieve them compared to those who merely thought about them. It connects the reader to the cycles of the seasons, to a sense of history, and to the deeply satisfying process of nurturing something into existence. The myth of the hero's journey, as identified by Joseph Campbell, is perhaps the ultimate ghost template for storytelling. A hobbyist can download a 3D printable file for a broken part on an appliance and print a replacement at home, challenging traditional models of manufacturing and repair. 19 A printable chart can leverage this effect by visually representing the starting point, making the journey feel less daunting and more achievable from the outset. Patterns also offer a sense of predictability and familiarity. The template is not the opposite of creativity; it is the necessary scaffolding that makes creativity scalable and sustainable. Disconnect the hydraulic lines to the chuck actuator and cap them immediately to prevent contamination. The beauty of Minard’s Napoleon map is not decorative; it is the breathtaking elegance with which it presents a complex, multivariate story with absolute clarity. If it is stuck due to rust, a few firm hits with a hammer on the area between the wheel studs will usually break it free. " We see the Klippan sofa not in a void, but in a cozy living room, complete with a rug, a coffee table, bookshelves filled with books, and even a half-empty coffee cup left artfully on a coaster. Social media platforms like Instagram can also drive traffic. But the price on the page contains much more than just the cost of making the physical object. This internal blueprint can become particularly potent when forged by trauma. Remove the engine oil dipstick, wipe it clean, reinsert it fully, and then check that the level is between the two marks. There are no smiling children, no aspirational lifestyle scenes. Keep this manual in your vehicle's glove compartment for ready reference. This includes information on paper types and printer settings. Once a story or an insight has been discovered through this exploratory process, the designer's role shifts from analyst to storyteller. While the Aura Smart Planter is designed to be a reliable and low-maintenance device, you may occasionally encounter an issue that requires a bit of troubleshooting. I started watching old films not just for the plot, but for the cinematography, the composition of a shot, the use of color to convey emotion, the title card designs. The next leap was the 360-degree view, allowing the user to click and drag to rotate the product as if it were floating in front of them. It's the difference between building a beautiful bridge in the middle of a forest and building a sturdy, accessible bridge right where people actually need to cross a river. It is the fundamental unit of information in the universe of the catalog, the distillation of a thousand complex realities into a single, digestible, and deceptively simple figure. There is no shame in seeking advice or stepping back to re-evaluate. Finally, for a professional team using a Gantt chart, the main problem is not individual motivation but the coordination of complex, interdependent tasks across multiple people. It means you can completely change the visual appearance of your entire website simply by applying a new template, and all of your content will automatically flow into the new design. This simple grid of equivalencies is a testament to a history of disparate development and a modern necessity for seamless integration. To mitigate these issues, individuals can establish dedicated journaling times and use apps with robust security features. I can see its flaws, its potential. Analyzing this sample raises profound questions about choice, discovery, and manipulation. The rise of digital planners on tablets is a related trend. I am a framer, a curator, and an arguer. Self-help books and online resources also offer guided journaling exercises that individuals can use independently. The soaring ceilings of a cathedral are designed to inspire awe and draw the eye heavenward, communicating a sense of the divine. Presentation templates help in crafting compelling pitches and reports, ensuring that all visual materials are on-brand and polished. At its core, a printable chart is a visual tool designed to convey information in an organized and easily understandable way. Imagine looking at your empty kitchen counter and having an AR system overlay different models of coffee machines, allowing you to see exactly how they would look in your space. I was working on a branding project for a fictional coffee company, and after three days of getting absolutely nowhere, my professor sat down with me. By using a printable chart in this way, you are creating a structured framework for personal growth. The information contained herein is proprietary and is intended to provide a comprehensive, technical understanding of the T-800's complex systems. The products it surfaces, the categories it highlights, the promotions it offers are all tailored to that individual user. The sample would be a piece of a dialogue, the catalog becoming an intelligent conversational partner. An automatic brake hold function is also included, which can maintain braking pressure even after you release the brake pedal in stop-and-go traffic, reducing driver fatigue. Knitting groups and clubs offer a sense of community and support, fostering friendships and connections that can be particularly valuable in combating loneliness and isolation. Take note of how they were installed and where any retaining clips are positioned. A 3D bar chart is a common offender; the perspective distorts the tops of the bars, making it difficult to compare their true heights. This form of journaling offers a framework for exploring specific topics and addressing particular challenges, making it easier for individuals to engage in meaningful reflection. As 3D printing becomes more accessible, printable images are expanding beyond two dimensions. It rarely, if ever, presents the alternative vision of a good life as one that is rich in time, relationships, and meaning, but perhaps simpler in its material possessions. This section is designed to help you resolve the most common problems. A slight bend in your knees is ideal. The faint, sweet smell of the aging paper and ink is a form of time travel. So don't be afraid to pick up a pencil, embrace the process of learning, and embark on your own artistic adventure. Imagine a city planner literally walking through a 3D model of a city, where buildings are colored by energy consumption and streams of light represent traffic flow. This shift from a static artifact to a dynamic interface was the moment the online catalog stopped being a ghost and started becoming a new and powerful entity in its own right. The design of an urban infrastructure can either perpetuate or alleviate social inequality. 55 The use of a printable chart in education also extends to being a direct learning aid. I can design a cleaner navigation menu not because it "looks better," but because I know that reducing the number of choices will make it easier for the user to accomplish their goal. Then, meticulously reconnect all the peripheral components, referring to your photographs to ensure correct cable routing. 5 When an individual views a chart, they engage both systems simultaneously; the brain processes the visual elements of the chart (the image code) while also processing the associated labels and concepts (the verbal code). The low ceilings and warm materials of a cozy café are designed to foster intimacy and comfort.Doosan GPES 2012 Spare Parts Catalog Download
Doosan Parts Catalog Catalog Library
Doosan DX225LC Excavator Parts Catalog Manual
Genuine Doosan Diesel/Gasoline Engine Parts for/Excavator/Truck
Doosan Daewoo Dx55 Excavator Parts Catalogue Pdf Manual
Doosan S75V Excavator Parts Manual
Doosan DX140LCR5 Crawler Excavator Parts manual catalog PDF Download
DOOSAN GPES EPC 2017 ( Doosan Machines Parts Catalogs ) YTECH AUTO
Doosan Parts Catalog Catalog Library
Doosan EPC Doosan Excavator Spare Parts
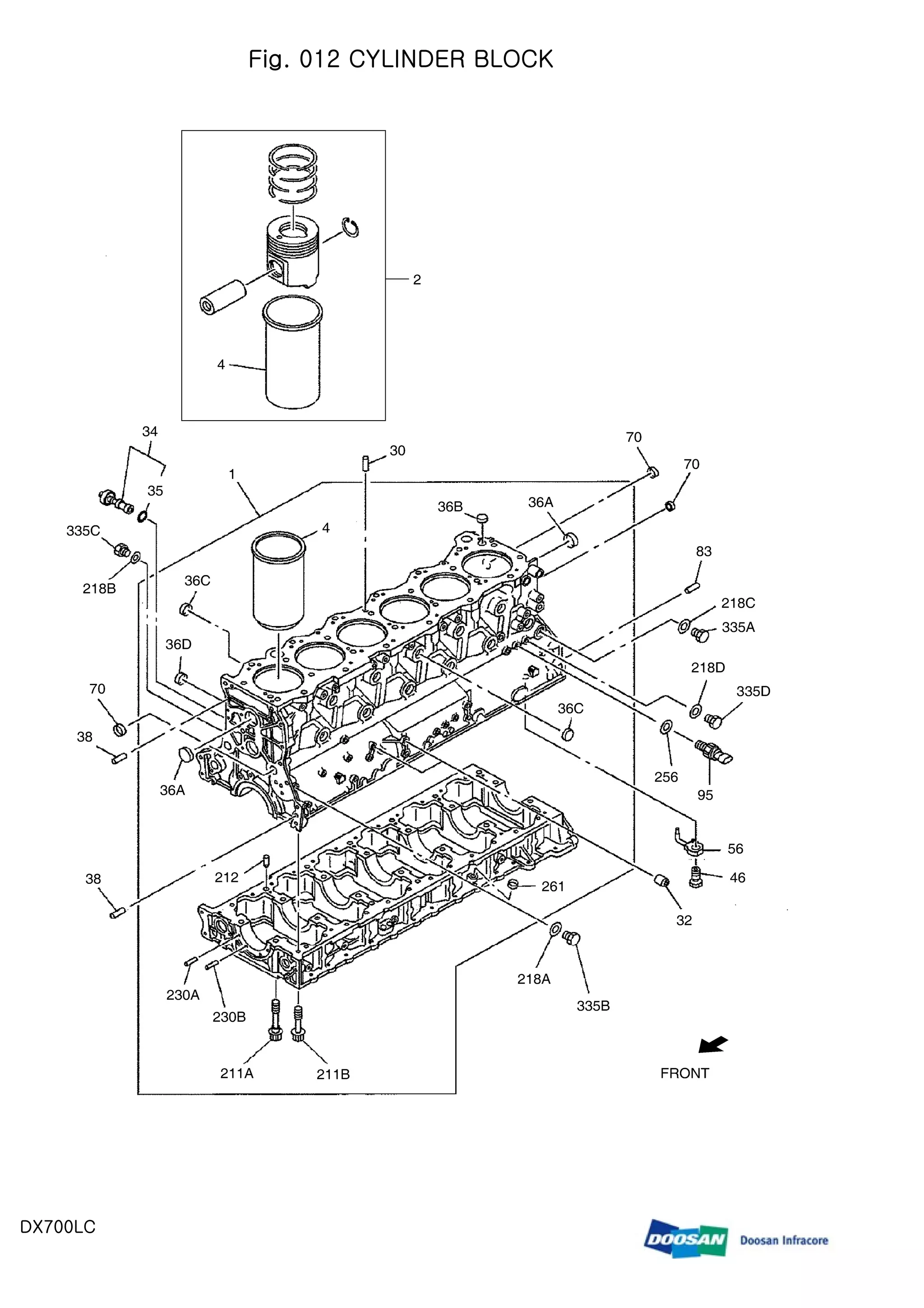
Daewoo doosan dx700 lc crawler excavator parts catalogue manual PDF
Doosan GPES 2012 Spare Parts Catalog Download
DAEWOO DOOSAN DX225LC Excavator Service Parts Catalogue Manual
doosan spare parts catalogue Excavator Parts
Daewoo Doosan Dx530lc3 Crawler Excavator Service Parts Catalogue
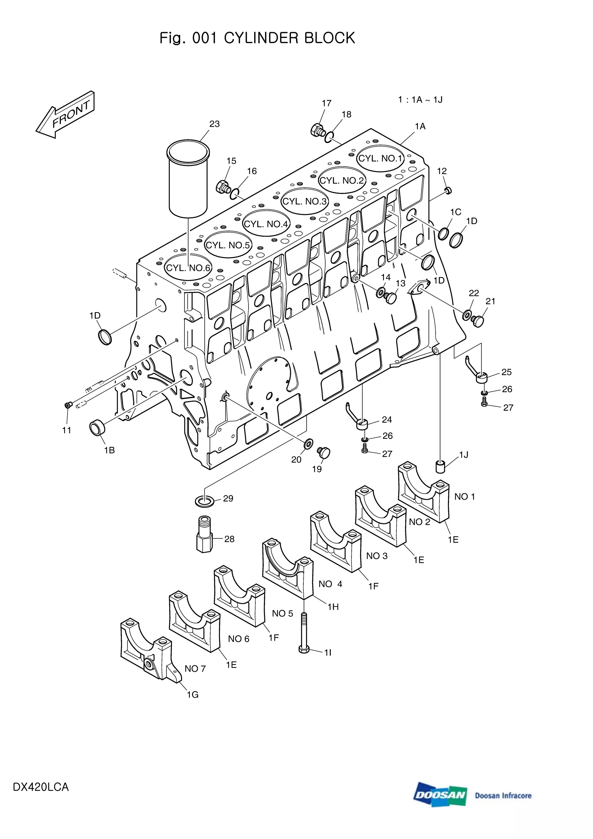
Daewoo doosan dx340 lca crawler excavator parts catalogue manual PDF
Doosan Spare Parts Catalog RB Bonomi
Daewoo doosan dx340 lca crawler excavator parts catalogue manual PDF
Daewoo doosan dx500 lca crawler excavator parts catalogue manual PDF
DAEWOO DOOSAN DX235LCR Crawler Excavator Service Parts Catalogue Manual
DOOSAN TRACKS, DOOSAN EXCAVATOR PARTS FOR UNDERCARRIAGE
Daewoo doosan dx340 lca crawler excavator parts catalogue manual PDF
Doosan S500LCV Excavator Parts Manual
Daewoo doosan dx700 lc crawler excavator parts catalogue manual PDF
Doosan e55 w compact excavator parts catalogue manual PDF
Daewoo doosan dx480 lca crawler excavator parts catalogue manual PDF
Daewoo Doosan Dx225lca Crawler Excavator Service Parts Catalogue Manual
Doosan DX140LC excavator pdf parts catalog
Doosan Equipment Parts
Doosan DX225LC Excavator Parts Manual
Daewoo doosan dx420 lca crawler excavator parts catalogue manual PDF
Doosan Excavator Parts Heavy Parts Solution Korean excavator parts
Daewoo doosan dx340 lca crawler excavator parts catalogue manual PDF
ENGINE MOUNTING DL300 Doosan parts catalog online
PEDAL VALVE DX140LCR3 Doosan parts catalog online
Related Post:


































