Nissan Outboard Parts Catalog
Nissan Outboard Parts Catalog - Ensure the vehicle is parked on a level surface, turn the engine off, and wait several minutes. A designer can use the components in their design file, and a developer can use the exact same components in their code. They can convey cultural identity, express artistic innovation, and influence emotional responses. For the first time, I understood that rules weren't just about restriction. After the machine is locked out, open the main cabinet door. The typography is minimalist and elegant. He was the first to systematically use a line on a Cartesian grid to show economic data over time, allowing a reader to see the narrative of a nation's imports and exports at a single glance. A persistent and often oversimplified debate within this discipline is the relationship between form and function. His stem-and-leaf plot was a clever, hand-drawable method that showed the shape of a distribution while still retaining the actual numerical values. It achieves this through a systematic grammar, a set of rules for encoding data into visual properties that our eyes can interpret almost instantaneously. I read the classic 1954 book "How to Lie with Statistics" by Darrell Huff, and it felt like being given a decoder ring for a secret, deceptive language I had been seeing my whole life without understanding. A designer who looks at the entire world has an infinite palette to draw from. 64 This is because handwriting is a more complex motor and cognitive task, forcing a slower and more deliberate engagement with the information being recorded. This was the moment the scales fell from my eyes regarding the pie chart. There will never be another Sears "Wish Book" that an entire generation of children can remember with collective nostalgia, because each child is now looking at their own unique, algorithmically generated feed of toys. We are paying with a constant stream of information about our desires, our habits, our social connections, and our identities. A goal-setting chart is the perfect medium for applying proven frameworks like SMART goals—ensuring objectives are Specific, Measurable, Achievable, Relevant, and Time-bound. The true artistry of this sample, however, lies in its copy. From coloring pages and scrapbooking elements to stencils and decoupage designs, printable images provide a wealth of resources for artistic projects. Furthermore, the data itself must be handled with integrity. This pattern—of a hero who receives a call to adventure, passes through a series of trials, achieves a great victory, and returns transformed—is visible in everything from the ancient Epic of Gilgamesh to modern epics like Star Wars. The designer must anticipate how the user will interact with the printed sheet. This makes any type of printable chart an incredibly efficient communication device, capable of conveying complex information at a glance. Pinterest is a powerful visual search engine for this niche. Another critical consideration is the "printer-friendliness" of the design. But a professional brand palette is a strategic tool. The issue is far more likely to be a weak or dead battery. In the digital age, the concept of online templates has revolutionized how individuals and businesses approach content creation, design, and productivity. The act of crocheting for others adds a layer of meaning to the craft, turning a solitary activity into one that brings people together for a common good. The principles of motivation are universal, applying equally to a child working towards a reward on a chore chart and an adult tracking their progress on a fitness chart. The products it surfaces, the categories it highlights, the promotions it offers are all tailored to that individual user. If the system detects that you are drifting from your lane without signaling, it will provide a warning, often through a vibration in the steering wheel. The impact of the educational printable is profoundly significant, representing one of the most beneficial applications of this technology. This digital medium has also radically democratized the tools of creation. This iterative cycle of build-measure-learn is the engine of professional design. It is a language that transcends cultural and linguistic barriers, capable of conveying a wealth of information in a compact and universally understandable format. 41 Each of these personal development charts serves the same fundamental purpose: to bring structure, clarity, and intentionality to the often-messy process of self-improvement. Use a mild car wash soap and a soft sponge or cloth, and wash the vehicle in a shaded area. The ChronoMark, while operating at a low voltage, contains a high-density lithium-polymer battery that can pose a significant fire or chemical burn hazard if mishandled, punctured, or short-circuited. Join our online community to share your growing successes, ask questions, and connect with other Aura gardeners. Every new project brief felt like a test, a demand to produce magic on command. This constant state of flux requires a different mindset from the designer—one that is adaptable, data-informed, and comfortable with perpetual beta. This particular artifact, a catalog sample from a long-defunct department store dating back to the early 1990s, is a designated "Christmas Wish Book. As individuals gain confidence using a chart for simple organizational tasks, they often discover that the same principles can be applied to more complex and introspective goals, making the printable chart a scalable tool for self-mastery. This first age of the printable democratized knowledge, fueled the Reformation, enabled the Scientific Revolution, and laid the groundwork for the modern world. By understanding the unique advantages of each medium, one can create a balanced system where the printable chart serves as the interface for focused, individual work, while digital tools handle the demands of connectivity and collaboration. We see it in the business models of pioneering companies like Patagonia, which have built their brand around an ethos of transparency. 25 In this way, the feelings chart and the personal development chart work in tandem; one provides a language for our emotional states, while the other provides a framework for our behavioral tendencies. In the 1970s, Tukey advocated for a new approach to statistics he called "Exploratory Data Analysis" (EDA). 27 This process connects directly back to the psychology of motivation, creating a system of positive self-reinforcement that makes you more likely to stick with your new routine. It's about building a fictional, but research-based, character who represents your target audience. It is a concept that fosters both humility and empowerment. Beyond worksheets, the educational printable takes many forms. At its core, knitting is about more than just making things; it is about creating connections, both to the past and to the present. This free manual is written with the home mechanic in mind, so we will focus on tools that provide the best value and versatility. I started going to art galleries not just to see the art, but to analyze the curation, the way the pieces were arranged to tell a story, the typography on the wall placards, the wayfinding system that guided me through the space. Study the textures, patterns, and subtle variations in light and shadow. New niches and product types will emerge. Teachers and parents rely heavily on these digital resources. This corner of the printable world operates as a true gift economy, where the reward is not financial but comes from a sense of contribution, community recognition, and the satisfaction of providing a useful tool to someone who needs it. Alternatively, it may open a "Save As" dialog box, prompting you to choose a specific location on your computer to save the file. It acts as an external memory aid, offloading the burden of recollection and allowing our brains to focus on the higher-order task of analysis. Regular maintenance will not only keep your planter looking its best but will also prevent the buildup of any potentially harmful bacteria or fungi, ensuring a healthy environment for your plants to thrive. Working on any vehicle, including the OmniDrive, carries inherent risks, and your personal safety is the absolute, non-negotiable priority. A designer working with my manual wouldn't have to waste an hour figuring out the exact Hex code for the brand's primary green; they could find it in ten seconds and spend the other fifty-nine minutes working on the actual concept of the ad campaign. One of the strengths of black and white drawing is its ability to evoke a sense of timelessness and nostalgia. It is a professional instrument for clarifying complexity, a personal tool for building better habits, and a timeless method for turning abstract intentions into concrete reality. For a child using a chore chart, the brain is still developing crucial executive functions like long-term planning and intrinsic motivation. The resulting visualizations are not clean, minimalist, computer-generated graphics. Schools and community programs are introducing crochet to young people, ensuring that the craft continues to thrive in the hands of future generations. In recent years, the conversation around design has taken on a new and urgent dimension: responsibility. This process of "feeding the beast," as another professor calls it, is now the most important part of my practice. Thank you cards and favor tags complete the party theme. Principles like proximity (we group things that are close together), similarity (we group things that look alike), and connection (we group things that are physically connected) are the reasons why we can perceive clusters in a scatter plot or follow the path of a line in a line chart. Individuals can use a printable chart to create a blood pressure log or a blood sugar log, providing a clear and accurate record to share with their healthcare providers. You will be asked to provide your home Wi-Fi network credentials, which will allow your planter to receive software updates and enable you to monitor and control it from anywhere with an internet connection.Exploring the Anatomy of Nissan Outboard Parts
Nissan 002N210511 Genuine OEM NSF 8A2 9.8A2 4 Stroke Outboard Parts
Nissan Outboard 2002 OEM Parts Diagram for DRIVE SHAFT HOUSING & GEAR
Nissan Outboard 2002 OEM Parts Diagram for Drivershaft Housing, Gear
Exploring the Anatomy of Nissan Outboard Parts
Nissan Outboard Parts Diagram for Maintenance and Repair
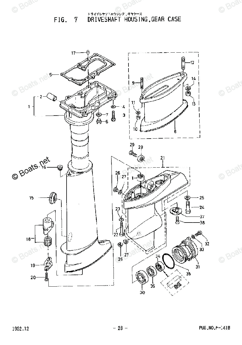
Nissan 002N210473 Genuine OEM NSF 18B2 15B2 9.9B2 Outboard Parts
Nissan Outboard 2002 OEM Parts Diagram for TRANSMISSION & WATER PUMP
A Detailed Diagram of 40 HP Nissan Outboard Parts
Sell Nissan Marine NSF18B2 NSF15B2 NSF9.9B2 Outboard Motor Parts
10. LOWER UNIT , Reliable Source of Nissan Tohatsu Boat Marine
002N210520 2006 Parts List Catalog for Nissan NSF 2A & 3.5A Outboards
Exploring the Anatomy of Nissan Outboard Parts
Nissan Outboard Parts Diagram Parts Outboard Johnson Nissan
Nissan Outboard 2002 OEM Parts Diagram for MOTOR COVER & INTEGRAL FUEL
Nissan Outboard 2002 OEM Parts Diagram for DRIVESHAFT HOUSING & GEAR
Sell Nissan Marine NSF6A2 NSF5A2 NSF4A2 Outboard Motor Parts Catalog
1990 Nissan Outboard Motor Ns 2.5A Parts Catalog M340A Etsy
Exploring the Anatomy of Nissan Outboard Parts
Nissan 002N210473 Genuine OEM NSF 18B2 15B2 9.9B2 Outboard Parts
Sell Nissan Marine NSF25A NSF30A Outboard Motor Parts Catalog Manual
Tohatsu Southcentral Outboards
Nissan and Tohatsu parts catalogs
A Detailed Diagram of 40 HP Nissan Outboard Parts
Nissan Marine Outboard Motor NS 9.9D/ns 15D/ns 18E Parts Catalog Manual
Nissan Outboard 2011 OEM Parts Diagram for Manual Tilt (M Model
Exploring the Anatomy of Nissan Outboard Parts
Nissan Outboard 2002 OEM Parts Diagram for DRIVESHAFT HOUSING & GEAR
1990 Nissan Outboard Motor Ns 3.5A Parts Catalog M140A M0030800ts
Exploring the Anatomy of Nissan Outboard Parts
Nissan Outboard 2012 OEM Parts Diagram for COMPONENT PARTS OF REMOTE
Nissan Outboard 2009 OEM Parts Diagram for MANUAL TILT (M TYPE)
Exploring the Anatomy of Nissan Outboard Parts
Related Post:

































