Jeep Liberty 2002 Parts Catalog
Jeep Liberty 2002 Parts Catalog - They come in a variety of formats, including word processors, spreadsheets, presentation software, graphic design tools, and even website builders. The cost of any choice is the value of the best alternative that was not chosen. Beyond the realm of internal culture and personal philosophy, the concept of the value chart extends into the very core of a business's external strategy and its relationship with the market. By laying out all the pertinent information in a structured, spatial grid, the chart allows our visual system—our brain’s most powerful and highest-bandwidth processor—to do the heavy lifting. For another project, I was faced with the challenge of showing the flow of energy from different sources (coal, gas, renewables) to different sectors of consumption (residential, industrial, transportation). A designer might spend hours trying to dream up a new feature for a banking app. It is a document that can never be fully written. 68 Here, the chart is a tool for external reinforcement. 49 This guiding purpose will inform all subsequent design choices, from the type of chart selected to the way data is presented. They are fundamental aspects of professional practice. In literature and filmmaking, narrative archetypes like the "Hero's Journey" function as a powerful story template. 32 The strategic use of a visual chart in teaching has been shown to improve learning outcomes by a remarkable 400%, demonstrating its profound impact on comprehension and retention. It is a fundamental recognition of human diversity, challenging designers to think beyond the "average" user and create solutions that work for everyone, without the need for special adaptation. That critique was the beginning of a slow, and often painful, process of dismantling everything I thought I knew. Digital scrapbooking papers and elements are widely used. I remember working on a poster that I was convinced was finished and perfect. It’s not just a collection of different formats; it’s a system with its own grammar, its own vocabulary, and its own rules of syntax. Education In architecture, patterns are used to enhance both the aesthetic and functional aspects of buildings. This comprehensive exploration will delve into the professional application of the printable chart, examining the psychological principles that underpin its effectiveness, its diverse implementations in corporate and personal spheres, and the design tenets required to create a truly impactful chart that drives performance and understanding. Business and Corporate Sector Lines and Shapes: Begin with simple exercises, such as drawing straight lines, curves, circles, and basic shapes like squares and triangles. For personal organization, the variety is even greater. By providing a comprehensive, at-a-glance overview of the entire project lifecycle, the Gantt chart serves as a central communication and control instrument, enabling effective resource allocation, risk management, and stakeholder alignment. I had decorated the data, not communicated it. It solves an immediate problem with a simple download. In the corporate world, the organizational chart maps the structure of a company, defining roles, responsibilities, and the flow of authority. The professional learns to not see this as a failure, but as a successful discovery of what doesn't work. A strong composition guides the viewer's eye and creates a balanced, engaging artwork. Journaling as a Tool for Goal Setting and Personal Growth Knitting is also finding its way into the realms of art and fashion. Imagine looking at your empty kitchen counter and having an AR system overlay different models of coffee machines, allowing you to see exactly how they would look in your space. The world untroubled by human hands is governed by the principles of evolution and physics, a system of emergent complexity that is functional and often beautiful, but without intent. When we came back together a week later to present our pieces, the result was a complete and utter mess. My initial reaction was dread. I am not a neutral conduit for data. Its primary function is to provide a clear, structured plan that helps you use your time at the gym more efficiently and effectively. Online marketplaces and blogs are replete with meticulously designed digital files that users can purchase for a small fee, or often acquire for free, to print at home. One of the most breathtaking examples from this era, and perhaps of all time, is Charles Joseph Minard's 1869 chart depicting the fate of Napoleon's army during its disastrous Russian campaign of 1812. This legacy was powerfully advanced in the 19th century by figures like Florence Nightingale, who famously used her "polar area diagram," a form of pie chart, to dramatically illustrate that more soldiers were dying from poor sanitation and disease in hospitals than from wounds on the battlefield. It is a simple yet profoundly effective mechanism for bringing order to chaos, for making the complex comparable, and for grounding a decision in observable fact rather than fleeting impression. The manual was not a prison for creativity. For example, biomimicry—design inspired by natural patterns and processes—offers sustainable solutions for architecture, product design, and urban planning. There is a very specific procedure for connecting the jumper cables that must be followed precisely to avoid sparks and potential damage to your vehicle's electrical components. They can then write on the planner using a stylus. The page is cluttered with bright blue hyperlinks and flashing "buy now" gifs. The toolbox is vast and ever-growing, the ethical responsibilities are significant, and the potential to make a meaningful impact is enormous. Each template is a fully-formed stylistic starting point. Having a great product is not enough if no one sees it. The braking system consists of ventilated disc brakes at the front and solid disc brakes at the rear, supplemented by the ABS and ESC systems. In manufacturing, the concept of the template is scaled up dramatically in the form of the mold. To begin, navigate to your device’s app store and search for the "Aura Grow" application. The feedback gathered from testing then informs the next iteration of the design, leading to a cycle of refinement that gradually converges on a robust and elegant solution. This methodical dissection of choice is the chart’s primary function, transforming the murky waters of indecision into a transparent medium through which a reasoned conclusion can be drawn. By embracing spontaneity, experimentation, and imperfection, artists can unleash their imagination and create artworks that are truly unique and personal. For another project, I was faced with the challenge of showing the flow of energy from different sources (coal, gas, renewables) to different sectors of consumption (residential, industrial, transportation). Formats such as JPEG, PNG, TIFF, and PDF are commonly used for printable images, each offering unique advantages. " "Do not add a drop shadow. The use of a color palette can evoke feelings of calm, energy, or urgency. " The "catalog" would be the AI's curated response, a series of spoken suggestions, each with a brief description and a justification for why it was chosen. The design of a social media platform can influence political discourse, shape social norms, and impact the mental health of millions. When you fill out a printable chart, you are not passively consuming information; you are actively generating it, reframing it in your own words and handwriting. We encounter it in the morning newspaper as a jagged line depicting the stock market's latest anxieties, on our fitness apps as a series of neat bars celebrating a week of activity, in a child's classroom as a colourful sticker chart tracking good behaviour, and in the background of a television news report as a stark graph illustrating the inexorable rise of global temperatures. The first is the danger of the filter bubble. It contains important information, warnings, and recommendations that will help you understand and enjoy the full capabilities of your SUV. It reminded us that users are not just cogs in a functional machine, but complex individuals embedded in a rich cultural context. 18 Beyond simple orientation, a well-maintained organizational chart functions as a strategic management tool, enabling leaders to identify structural inefficiencies, plan for succession, and optimize the allocation of human resources. 49 This guiding purpose will inform all subsequent design choices, from the type of chart selected to the way data is presented. Once your seat is in the correct position, you should adjust the steering wheel. Similarly, an industrial designer uses form, texture, and even sound to communicate how a product should be used. It was the catalog dematerialized, and in the process, it seemed to have lost its soul. You can use a single, bright color to draw attention to one specific data series while leaving everything else in a muted gray. Medical dosages are calculated and administered with exacting care, almost exclusively using metric units like milligrams (mg) and milliliters (mL) to ensure global consistency and safety. Good visual communication is no longer the exclusive domain of those who can afford to hire a professional designer or master complex software. To release it, press down on the switch while your foot is on the brake pedal. 37 The reward is no longer a sticker but the internal satisfaction derived from seeing a visually unbroken chain of success, which reinforces a positive self-identity—"I am the kind of person who exercises daily. I see it now for what it is: not an accusation, but an invitation. Their work is a seamless blend of data, visuals, and text. The new drive must be configured with the exact same parameters to ensure proper communication with the CNC controller and the motor. Your vehicle is equipped with an electronic parking brake, operated by a switch on the center console. The myth of the lone genius is perhaps the most damaging in the entire creative world, and it was another one I had to unlearn.Amazon Jeep Liberty 2002 thru 2007 (Haynes Repair Manual) Editors
Visual Guide to Jeep Liberty Body Parts
A Breakdown of 2002 Jeep Liberty Engine Parts
Visualizing the Components of a 2002 Jeep Liberty A Comprehensive
The Ultimate Guide to Understanding Jeep Liberty Body Parts Diagram
A Breakdown of 2002 Jeep Liberty Engine Parts
Visual Guide to Jeep Liberty Body Parts
Exploring the Intricate Front End Parts of the Jeep Liberty A Detailed
Jeep Liberty Parts Diagram
Jeep Liberty 20022004, Basic Interior Kit, 25 Pcs.
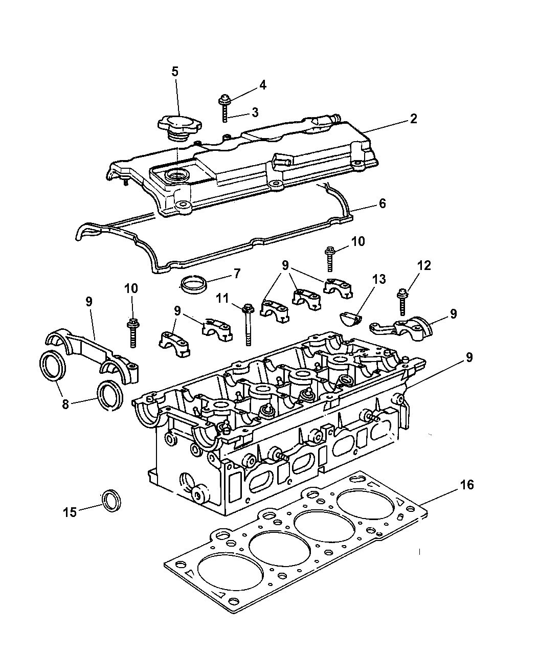
2002 Jeep Liberty Cylinder Head Mopar Parts Giant
Exploring the Rear Suspension of a 2002 Jeep Liberty A Diagram
Visual Guide to Engine Parts Diagrams for the 2002 Jeep Liberty Isolator
Catálogo de Partes JEEP LIBERTY 2002 AutoPartes y Refacciones
Visual Guide to Engine Parts Diagrams for the 2002 Jeep Liberty Isolator
The Ultimate Guide to Understanding Jeep Liberty Body Parts Diagram
Replacing Serpentine Belt Jeep Liberty 2002 Guide ShunAuto
Catálogo de Partes JEEP LIBERTY 2002 AutoPartes y Refacciones
An Illustrated Guide to 2002 Jeep Liberty Parts WireMystique
Visual Guide to 2002 Jeep Liberty Parts Diagrams
Exploring the Components of Jeep Liberty's Suspension A Visual Diagram
A Breakdown of 2002 Jeep Liberty Engine Parts
Jeep Liberty Parts Diagram
Understanding the Jeep Liberty Body Parts An Informative Diagram
A Breakdown of 2002 Jeep Liberty Engine Parts
Visual Guide to 2002 Jeep Liberty Parts Diagrams
Catálogo de Partes JEEP LIBERTY 2002 AutoPartes y Refacciones
Exploring the Anatomy of Jeep Liberty A Detailed Parts Diagram
The Ultimate Guide to Understanding Jeep Liberty Body Parts Diagram
Catálogo de Partes JEEP LIBERTY 2002 AutoPartes y Refacciones
Jeep Liberty 2002 Parts Catalog
Classic Flat Trim Available 200204 Jeep Liberty Products
Visual Guide to Jeep Liberty Body Parts
Jeep KJ 2002 Liberty Cherokee Parts Catalog Belt (Mechanical) Vehicles
Related Post:

































