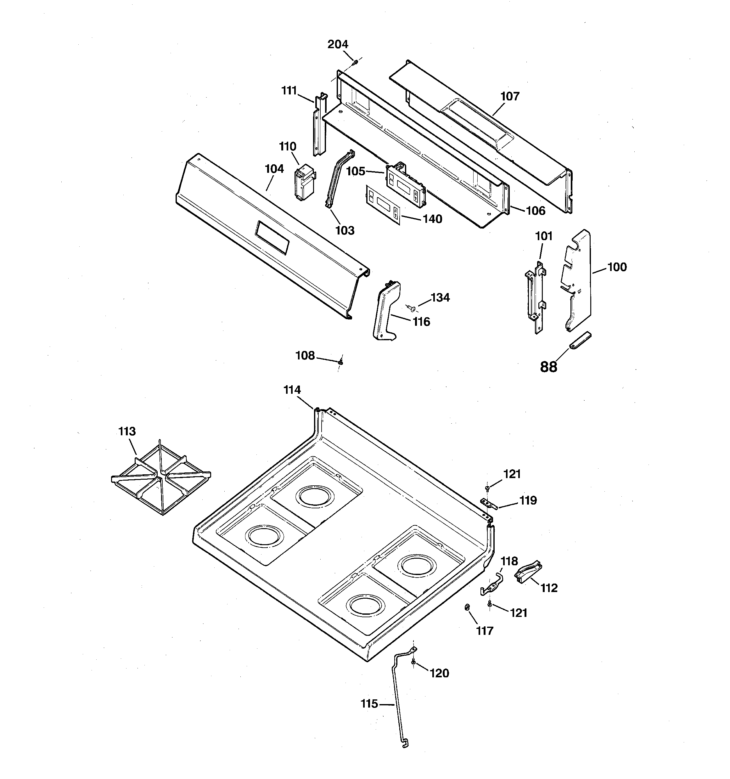
Ge Gas Range Model Jgb281Der1Bb Parts Catalog
Ge Gas Range Model Jgb281Der1Bb Parts Catalog - One person had put it in a box, another had tilted it, another had filled it with a photographic texture. For a chair design, for instance: What if we *substitute* the wood with recycled plastic? What if we *combine* it with a bookshelf? How can we *adapt* the design of a bird's nest to its structure? Can we *modify* the scale to make it a giant's chair or a doll's chair? What if we *put it to another use* as a plant stand? What if we *eliminate* the backrest? What if we *reverse* it and hang it from the ceiling? Most of the results will be absurd, but the process forces you to break out of your conventional thinking patterns and can sometimes lead to a genuinely innovative breakthrough. I saw them as a kind of mathematical obligation, the visual broccoli you had to eat before you could have the dessert of creative expression. It is a language that crosses cultural and linguistic barriers, a tool that has been instrumental in scientific breakthroughs, social reforms, and historical understanding. History provides the context for our own ideas. The very act of choosing to make a file printable is an act of assigning it importance, of elevating it from the ephemeral digital stream into a singular, physical artifact. This was the moment I truly understood that a brand is a complete sensory and intellectual experience, and the design manual is the constitution that governs every aspect of that experience. It is the weekly planner downloaded from a productivity blog, the whimsical coloring page discovered on Pinterest for a restless child, the budget worksheet shared in a community of aspiring savers, and the inspirational wall art that transforms a blank space. Cultural Significance and Preservation Details: Focus on capturing the details that make your subject unique. This advocacy manifests in the concepts of usability and user experience. The design of a social media app’s notification system can contribute to anxiety and addiction. Modern digital charts can be interactive, allowing users to hover over a data point to see its precise value, to zoom into a specific time period, or to filter the data based on different categories in real time. 21Charting Your World: From Household Harmony to Personal GrowthThe applications of the printable chart are as varied as the challenges of daily life. High fashion designers are incorporating hand-knitted elements into their collections, showcasing the versatility and beauty of this ancient craft on the global stage. Lupi argues that data is not objective; it is always collected by someone, with a certain purpose, and it always has a context. The ongoing task, for both the professional designer and for every person who seeks to improve their corner of the world, is to ensure that the reflection we create is one of intelligence, compassion, responsibility, and enduring beauty. The table is a tool of intellectual honesty, a framework that demands consistency and completeness in the evaluation of choice. It's an argument, a story, a revelation, and a powerful tool for seeing the world in a new way. This demonstrated that motion could be a powerful visual encoding variable in its own right, capable of revealing trends and telling stories in a uniquely compelling way. They are deeply rooted in the very architecture of the human brain, tapping into fundamental principles of psychology, cognition, and motivation. These early records were often kept by scholars, travelers, and leaders, serving as both personal reflections and historical documents. The democratization of design through online tools means that anyone, regardless of their artistic skill, can create a professional-quality, psychologically potent printable chart tailored perfectly to their needs. The "value proposition canvas," a popular strategic tool, is a perfect example of this. It is the act of looking at a simple object and trying to see the vast, invisible network of relationships and consequences that it embodies. We are moving towards a world of immersive analytics, where data is not confined to a flat screen but can be explored in three-dimensional augmented or virtual reality environments. Users can simply select a template, customize it with their own data, and use drag-and-drop functionality to adjust colors, fonts, and other design elements to fit their specific needs. The very shape of the placeholders was a gentle guide, a hint from the original template designer about the intended nature of the content. The process of achieving goals, even the smallest of micro-tasks, is biochemically linked to the release of dopamine, a powerful neurotransmitter associated with feelings of pleasure, reward, and motivation. The copy is intellectual, spare, and confident. A template can give you a beautiful layout, but it cannot tell you what your brand's core message should be. The typography was not just a block of Lorem Ipsum set in a default font. It’s a form of mindfulness, I suppose. I embrace them. This multimedia approach was a concerted effort to bridge the sensory gap, to use pixels and light to simulate the experience of physical interaction as closely as possible. " This became a guiding principle for interactive chart design. In many European cities, a grand, modern boulevard may abruptly follow the precise curve of a long-vanished Roman city wall, the ancient defensive line serving as an unseen template for centuries of subsequent urban development. Use a piece of wire or a bungee cord to hang the caliper securely from the suspension spring or another sturdy point. This was a catalog for a largely rural and isolated America, a population connected by the newly laid tracks of the railroad but often miles away from the nearest town or general store. Are the battery terminals clean and tight? Corrosion can prevent a good electrical connection. The template represented everything I thought I was trying to escape: conformity, repetition, and a soulless, cookie-cutter approach to design. Digital applications excel at tasks requiring collaboration, automated reminders, and the management of vast amounts of information, such as shared calendars or complex project management software. In these future scenarios, the very idea of a static "sample," a fixed page or a captured screenshot, begins to dissolve. However, the chart as we understand it today in a statistical sense—a tool for visualizing quantitative, non-spatial data—is a much more recent innovation, a product of the Enlightenment's fervor for reason, measurement, and empirical analysis. " Then there are the more overtly deceptive visual tricks, like using the area or volume of a shape to represent a one-dimensional value. Are the battery terminals clean and tight? Corrosion can prevent a good electrical connection. 13 This mechanism effectively "gamifies" progress, creating a series of small, rewarding wins that reinforce desired behaviors, whether it's a child completing tasks on a chore chart or an executive tracking milestones on a project chart. We look for recognizable structures to help us process complex information and to reduce cognitive load. This could be incredibly valuable for accessibility, or for monitoring complex, real-time data streams. During the warranty period, we will repair or replace, at our discretion, any defective component of your planter at no charge. 19 A famous study involving car wash loyalty cards found that customers who were given a card with two "free" stamps already on it were almost twice as likely to complete the card as those who were given a blank card requiring fewer purchases. Your browser's behavior upon clicking may vary slightly depending on its settings. A true cost catalog would have to list these environmental impacts alongside the price. It's about building a fictional, but research-based, character who represents your target audience. Like most students, I came into this field believing that the ultimate creative condition was total freedom. There’s this pervasive myth of the "eureka" moment, the apple falling on the head, the sudden bolt from the blue that delivers a fully-formed, brilliant concept into the mind of a waiting genius. Pinterest is, quite literally, a platform for users to create and share their own visual catalogs of ideas, products, and aspirations. It is not a public document; it is a private one, a page that was algorithmically generated just for me. It champions principles of durability, repairability, and the use of renewable resources. By plotting individual data points on a two-dimensional grid, it can reveal correlations, clusters, and outliers that would be invisible in a simple table, helping to answer questions like whether there is a link between advertising spending and sales, or between hours of study and exam scores. Do not let the caliper hang by its brake hose, as this can damage the hose. The first is the danger of the filter bubble. The center of the dashboard houses the NissanConnect infotainment system with a large, responsive touchscreen. From its humble beginnings as a tool for 18th-century economists, the chart has grown into one of the most versatile and powerful technologies of the modern world. It has taken me from a place of dismissive ignorance to a place of deep respect and fascination. By plotting the locations of cholera deaths on a map, he was able to see a clear cluster around a single water pump on Broad Street, proving that the disease was being spread through contaminated water, not through the air as was commonly believed. Nature has already solved some of the most complex design problems we face. The initial idea is just the ticket to start the journey; the real design happens along the way. Audio-related problems, such as distorted recordings or no sound from the speaker, can sometimes be software-related. We urge you to keep this manual in the glove compartment of your vehicle at all times for quick and easy reference. A printable offers a different, and in many cases, superior mode of interaction. It can use dark patterns in its interface to trick users into signing up for subscriptions or buying more than they intended. The design philosophy behind an effective printable template is centered on the end-user and the final, physical artifact. If you are certain it is correct, you may also try Browse for your product using the category navigation menus, selecting the product type and then narrowing it down by series until you find your model. To think of a "cost catalog" was redundant; the catalog already was a catalog of costs, wasn't it? The journey from that simple certainty to a profound and troubling uncertainty has been a process of peeling back the layers of that single, innocent number, only to find that it is not a solid foundation at all, but the very tip of a vast and submerged continent of unaccounted-for consequences. You can choose the specific pages that fit your lifestyle. Iconic fashion houses, such as Missoni and Hermès, are renowned for their distinctive use of patterns in their designs. It is the act of deliberate creation, the conscious and intuitive shaping of our world to serve a purpose. From the intricate patterns of lace shawls to the cozy warmth of a hand-knitted sweater, knitting offers endless possibilities for those who take up the needles.Ge Gas Range Model Jgbs66dekww Manual
Ge Profile Cooktop Parts Diagram
Replacement Parts For Ge Gas Stove Top Oven Reviewmotors.co
General Electric Stove Parts Diagram Wiring Diagram For Elec
Official GE JGB635REK1SS gas range parts Sears PartsDirect
WB31X27150 Grate Replacement Parts For GE Stove Parts Burner Grate
Official GE JGS760SP5SS gas range parts Sears PartsDirect
JXGRIDL230 Griddle Replacement Parts for GE Stove Parts Top
The Ultimate Guide to Understanding GE Gas Stove Parts Diagrams
Ge Gas Stove Parts Diagram and Function Overview
Official GE GGF600AV2SS gas range parts Sears PartsDirect
How to Replace Surface Burners & Burner Caps on a GE Gas Range Model
Exploring the Intricate Components of a GE Stove A Comprehensive
Ge Gas Range Parts Diagram and Identification Guide
Official GE JGBC20BEA1WH gas range parts Sears PartsDirect
GE JGBS66REKSS GE® 30" FreeStanding Gas RangeJGBS66REKSS Weaver
Official GE JGBS60REK8SS gas range parts Sears PartsDirect
GE JGB700EEJ1ES Gas Range Or Dual Fuel Partswarehouse
The Ultimate Guide to Understanding GE Gas Stove Parts Diagrams
Ge Gas Range Parts List Reviewmotors.co
The Ultimate GE Electric Range Parts Diagram Everything You Need to Know
GE Gas Range Complete Disassembly & Repair Appliance Model Number
GE JGBP28BEA1Gas Range Partswarehouse
WB31X27151 Stove Grate Replacement Parts for GE Stove Parts WB31X24736
Ge Gas Range Stove Top Parts Reviewmotors.co
GE JGBS66DEK4BB Gas Range Partswarehouse
Official GE PGS930SEL4SS gas range parts Sears PartsDirect
GE JGB660DP1BB Gas Range Partswarehouse
Official GE GGF500SV2SS gas range parts Sears PartsDirect
WB31X24998 WB31X24738 Stove Griddle Replacement Parts for
GE JGB820DEP1BB Gas Range Partswarehouse
The Ultimate Guide to Understanding GE Gas Stove Parts Diagrams
WB31X27150 Gas Stove Grate Griddle Replacement FOR GE Gas
Ge Double Electric Oven Parts
Related Post:
























