Dodge Txt Reducer Catalog
Dodge Txt Reducer Catalog - This "round trip" from digital to physical and back again is a powerful workflow, combining the design precision and shareability of the digital world with the tactile engagement and permanence of the physical world. The product must solve a problem or be visually appealing. Regardless of the medium, whether physical or digital, the underlying process of design shares a common structure. This procedure requires specific steps to be followed in the correct order to prevent sparks and damage to the vehicle's electrical system. The use of a color palette can evoke feelings of calm, energy, or urgency. It is a masterpiece of information density and narrative power, a chart that functions as history, as data analysis, and as a profound anti-war statement. " We went our separate ways and poured our hearts into the work. I had treated the numbers as props for a visual performance, not as the protagonists of a story. It’s a form of mindfulness, I suppose. The only tools available were visual and textual. The first and most significant for me was Edward Tufte. The template represented everything I thought I was trying to escape: conformity, repetition, and a soulless, cookie-cutter approach to design. In the vast digital expanse that defines our modern era, the concept of the "printable" stands as a crucial and enduring bridge between the intangible world of data and the solid, tactile reality of our physical lives. This means you have to learn how to judge your own ideas with a critical eye. The scientific method, with its cycle of hypothesis, experiment, and conclusion, is a template for discovery. It tells you about the history of the seed, where it came from, who has been growing it for generations. Then there is the cost of manufacturing, the energy required to run the machines that spin the cotton into thread, that mill the timber into boards, that mould the plastic into its final form. I saw them as a kind of mathematical obligation, the visual broccoli you had to eat before you could have the dessert of creative expression. One can find printable worksheets for every conceivable subject and age level, from basic alphabet tracing for preschoolers to complex periodic tables for high school chemistry students. The Tufte-an philosophy of stripping everything down to its bare essentials is incredibly powerful, but it can sometimes feel like it strips the humanity out of the data as well. When I first decided to pursue design, I think I had this romanticized image of what it meant to be a designer. I had to choose a primary typeface for headlines and a secondary typeface for body copy. These items help create a tidy and functional home environment. Now, we are on the cusp of another major shift with the rise of generative AI tools. Cultural Significance and Preservation Details: Focus on capturing the details that make your subject unique. We see it in the taxonomies of Aristotle, who sought to classify the entire living world into a logical system. It was a tool designed for creating static images, and so much of early web design looked like a static print layout that had been put online. The hands, in this sense, become an extension of the brain, a way to explore, test, and refine ideas in the real world long before any significant investment of time or money is made. It is a discipline that demands clarity of thought, integrity of purpose, and a deep empathy for the audience. This blend of tradition and innovation is what keeps knitting vibrant and relevant in the modern world. You will also find the engine coolant temperature gauge, which should remain within the normal operating range during driving. At its essence, drawing is a manifestation of the human imagination, a means by which we can give shape and form to our innermost thoughts, emotions, and visions. Imagine a sample of an augmented reality experience. First and foremost is choosing the right type of chart for the data and the story one wishes to tell. Now, I understand that the act of making is a form of thinking in itself. The history, typology, and philosophy of the chart reveal a profound narrative about our evolving quest to see the unseen and make sense of an increasingly complicated world. People tend to trust charts more than they trust text. Use this manual in conjunction with those resources. When you fill out a printable chart, you are not passively consuming information; you are actively generating it, reframing it in your own words and handwriting. It is an act of generosity, a gift to future designers and collaborators, providing them with a solid foundation upon which to build. Research conducted by Dr. A professional might use a digital tool for team-wide project tracking but rely on a printable Gantt chart for their personal daily focus. It’s to see your work through a dozen different pairs of eyes. This introduced a new level of complexity to the template's underlying architecture, with the rise of fluid grids, flexible images, and media queries. Each technique can create different textures and effects. The goal isn't just to make things pretty; it's to make things work better, to make them clearer, easier, and more meaningful for people. It provides a completely distraction-free environment, which is essential for deep, focused work. Once these two bolts are removed, you can slide the caliper off the rotor. This sample is a document of its technological constraints. The page might be dominated by a single, huge, atmospheric, editorial-style photograph. In the professional world, the printable chart evolves into a sophisticated instrument for visualizing strategy, managing complex projects, and driving success. The template, by contrast, felt like an admission of failure. The toolbox is vast and ever-growing, the ethical responsibilities are significant, and the potential to make a meaningful impact is enormous. The Enduring Relevance of the Printable ChartIn our journey through the world of the printable chart, we have seen that it is far more than a simple organizational aid. You can choose the specific pages that fit your lifestyle. My brother and I would spend hours with a sample like this, poring over its pages with the intensity of Talmudic scholars, carefully circling our chosen treasures with a red ballpoint pen, creating our own personalized sub-catalog of desire. My first encounter with a data visualization project was, predictably, a disaster. And then, the most crucial section of all: logo misuse. Some of the best ideas I've ever had were not really my ideas at all, but were born from a conversation, a critique, or a brainstorming session with my peers. It allows teachers to supplement their curriculum, provide extra practice for struggling students, and introduce new topics in an engaging way. A designer can use the components in their design file, and a developer can use the exact same components in their code. The first major shift in my understanding, the first real crack in the myth of the eureka moment, came not from a moment of inspiration but from a moment of total exhaustion. They can then print the file using their own home printer. It has been designed for clarity and ease of use, providing all necessary data at a glance. Printable wall art has revolutionized interior decorating. This digital original possesses a quality of perfect, infinite reproducibility. The most obvious are the tangible costs of production: the paper it is printed on and the ink consumed by the printer, the latter of which can be surprisingly expensive. It is a master pattern, a structural guide, and a reusable starting point that allows us to build upon established knowledge and best practices. These are the costs that economists call "externalities," and they are the ghosts in our economic machine. Moreover, journaling can serve as a form of cognitive behavioral therapy (CBT), a widely used therapeutic approach that focuses on changing negative thought patterns. 19 A printable chart can leverage this effect by visually representing the starting point, making the journey feel less daunting and more achievable from the outset. This system is your gateway to navigation, entertainment, and communication. 45 This immediate clarity can significantly reduce the anxiety and uncertainty that often accompany starting a new job. The organizational chart, or "org chart," is a cornerstone of business strategy. In the event of a collision, your vehicle is designed to protect you, but your first priority should be to assess for injuries and call for emergency assistance if needed. The first transformation occurs when the user clicks "Print," converting this ethereal data into a physical object. Drive slowly at first in a safe area like an empty parking lot. Up until that point, my design process, if I could even call it that, was a chaotic and intuitive dance with the blank page.NEW DODGE TXT425BT BTV TAPER BUSHING REDUCER 24.381 244527GV134950190
Catalogo Reductor Dodge Ta9414h25 MN1695 PDF Screw Mechanical
NEW DODGE TXT625T GEAR REDUCER WITH BASE 246151 GB 25.131 SB
NEW DODGE 243507 REDUCER TXT3B HXT315BT 14.881 SB Industrial Supply
Exploring the Advantages of TorqueArm Speed Reducers and the Latest
Dodge TXT926AT Speed Reducer 25661 249270 Size 900 Torque Arm Shaft
Enclosed Gearing Dodge Industrial
NEW DODGE TXT5C REDUCER 245564 6N 25.561 TXT525CS 115/16"x51/4" BORE
Dodge Gear Drive TXT 2A TorqueArm Speed Reducer, ABHS215 37, Ratio 1
American Dodge Series Shaft Mounted Reducer Gearbox Loading/Unloading
CA1604 7 Dodge Tigear2 Gear Reducers Catalog Helical Attachments
NEW DODGE TXT425BT SHAFT MOUNT GEAR REDUCER 244527 24.381 TXT4C SB
DODGE TXT725AT / TXT725AT 247161 TORQUEARM SPEED REDUCER Free Loading
Exploring the Advantages of TorqueArm Speed Reducers and the Latest
DODGE TXT725AT / TXT725AT 247161 TORQUEARM SPEED REDUCER Free Loading
NEW DODGE TXT315AT GEAR REDUCER 14.881 243501CC SB Industrial Supply
DODGE TXT825AT / TXT825AT 248280 AVT TAPER BUSH REDUCER Free Loading
NEW DODGE TXT8 SHAFT MOUNT GEAR REDUCER 24.621 248280 BD TXT825TV SB
NEW DODGE TXT5C REDUCER 245564 6N 25.561 TXT525CS 115/16"x51/4" BORE
Exploring the Advantages of TorqueArm Speed Reducers and the Latest
NEW DODGE TXT225AT GEAR REDUCER 242083 23.461 SB Industrial Supply, Inc.
NEW DODGE TXT5C REDUCER 245564 6N 25.561 TXT525CS 115/16"x51/4" BORE
250418 Dodge TXT1024AT FLANGE MOUNT REDUCER MROPT
NEW DODGE TXT425BT GEAR REDUCER 24.381 244527GV144551770 TXT4B SB
DODGE TXT7A
NEW DODGE TXT425BT SHAFT MOUNT GEAR REDUCER 244527 24.381 TXT4C SB
NEW DODGE TXT425BT GEAR REDUCER 24.381 244527GV144551770 TXT4B SB
NEW DODGE TXT425BT GEAR REDUCER 24.381 244527GV144551770 TXT4B SB
DODGE TXT725AT / TXT725AT 247161 TORQUEARM SPEED REDUCER Free Loading
MOTORIZED SHAFT MOUNT REDUCER (MSM)
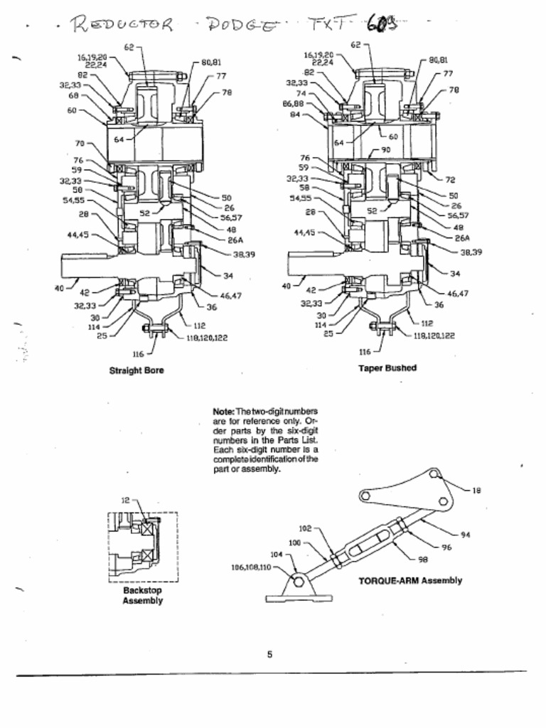
Manual Reductor Dodge TXT 609 PDF PDF
NEW DODGE TXT425BT SHAFT MOUNT GEAR REDUCER 244527 24.381 TXT4C SB
Dodge Gearbox Oil Level Chart A Visual Reference of Charts Chart Master
TorqueArm, the original shaftmount reducer now known as TXT®, set the
Related Post:

























