Carefree Awning Parts Catalog
Carefree Awning Parts Catalog - It contains a wealth of information that will allow you to become familiar with the advanced features, technical specifications, and important safety considerations pertaining to your Aeris Endeavour. I was proud of it. The resulting idea might not be a flashy new feature, but a radical simplification of the interface, with a focus on clarity and reassurance. 19 Dopamine is the "pleasure chemical" released in response to enjoyable experiences, and it plays a crucial role in driving our motivation to repeat those behaviors. We looked at the New York City Transit Authority manual by Massimo Vignelli, a document that brought order to the chaotic complexity of the subway system through a simple, powerful visual language. And it is an act of empathy for the audience, ensuring that their experience with a brand, no matter where they encounter it, is coherent, predictable, and clear. It's a single source of truth that keeps the entire product experience coherent. The power of a template lies not in what it is, but in what it enables. Beyond invoices, one can find a printable business card template with precise dimensions and crop marks, a printable letterhead template to ensure consistent branding, and comprehensive printable business plan templates that guide aspiring entrepreneurs through every section, from executive summary to financial projections. This led me to the work of statisticians like William Cleveland and Robert McGill, whose research in the 1980s felt like discovering a Rosetta Stone for chart design. These advancements are making it easier than ever for people to learn to knit, explore new techniques, and push the boundaries of the craft. This do-it-yourself approach resonates with people who enjoy crafting. An effective chart is one that is designed to work with your brain's natural tendencies, making information as easy as possible to interpret and act upon. This article delves into various aspects of drawing, providing comprehensive guidance to enhance your artistic journey. 89 Designers must actively avoid deceptive practices like manipulating the Y-axis scale by not starting it at zero, which can exaggerate differences, or using 3D effects that distort perspective and make values difficult to compare accurately. 785 liters in a U. These aren't meant to be beautiful drawings. Platforms like Etsy provided a robust marketplace for these digital goods. By providing a tangible record of your efforts and progress, a health and fitness chart acts as a powerful data collection tool and a source of motivation, creating a positive feedback loop where logging your achievements directly fuels your desire to continue. Patterns are not merely visual phenomena; they also have profound cultural and psychological impacts. The battery connector is a small, press-fit connector located on the main logic board, typically covered by a small metal bracket held in place by two Phillips screws. If the ChronoMark fails to power on, the first step is to connect it to a known-good charger and cable for at least one hour. The catalog presents a compelling vision of the good life as a life filled with well-designed and desirable objects. I had been trying to create something from nothing, expecting my mind to be a generator when it's actually a synthesizer. The issue is far more likely to be a weak or dead battery. This includes printable banners, cupcake toppers, and food labels. 1 Furthermore, studies have shown that the brain processes visual information at a rate up to 60,000 times faster than text, and that the use of visual tools can improve learning by an astounding 400 percent. Whether charting the subtle dance of light and shadow on a canvas, the core principles that guide a human life, the cultural aspirations of a global corporation, or the strategic fit between a product and its market, the fundamental purpose remains the same: to create a map of what matters. Designers use patterns to add texture, depth, and visual interest to fabrics. 49 This type of chart visually tracks key milestones—such as pounds lost, workouts completed, or miles run—and links them to pre-determined rewards, providing a powerful incentive to stay committed to the journey. 93 However, these benefits come with significant downsides. Beyond its intrinsic value as an art form, drawing plays a vital role in education, cognitive development, and therapeutic healing. Here, the conversion chart is a shield against human error, a simple tool that upholds the highest standards of care by ensuring the language of measurement is applied without fault. Practice drawing from life as much as possible. Each choice is a word in a sentence, and the final product is a statement. I am a framer, a curator, and an arguer. This is a divergent phase, where creativity, brainstorming, and "what if" scenarios are encouraged. In the real world, the content is often messy. Tunisian crochet, for instance, uses a longer hook to create a fabric that resembles both knitting and traditional crochet. Keeping the exterior of your Voyager clean by washing it regularly will protect the paint finish from environmental contaminants, and maintaining a clean interior will preserve its value and make for a more pleasant driving environment. Meal planning saves time and money for busy families. They established a foundational principle that all charts follow: the encoding of data into visual attributes, where position on a two-dimensional surface corresponds to a position in the real or conceptual world. The product image is a tiny, blurry JPEG. Once the software is chosen, the next step is designing the image. In a CMS, the actual content of the website—the text of an article, the product description, the price, the image files—is not stored in the visual layout. This is when I discovered the Sankey diagram. The brief was to create an infographic about a social issue, and I treated it like a poster. Printable valentines and Easter basket tags are also common. 3 This guide will explore the profound impact of the printable chart, delving into the science that makes it so effective, its diverse applications across every facet of life, and the practical steps to create and use your own. They are often messy, ugly, and nonsensical. The inside rearview mirror should be angled to give you a clear view directly through the center of the rear window. And beyond the screen, the very definition of what a "chart" can be is dissolving. Understanding Online Templates In an era where digital technology continues to evolve, printable images remain a significant medium bridging the gap between the virtual and the tangible. This specialized horizontal bar chart maps project tasks against a calendar, clearly illustrating start dates, end dates, and the duration of each activity. The creative brief, that document from a client outlining their goals, audience, budget, and constraints, is not a cage. The control system is the Titan Control Interface Gen-4, featuring a 15-inch touchscreen display, full network connectivity, and on-board diagnostic capabilities. This surveillance economy is the engine that powers the personalized, algorithmic catalog, a system that knows us so well it can anticipate our desires and subtly nudge our behavior in ways we may not even notice. It felt like cheating, like using a stencil to paint, a colouring book instead of a blank canvas. I had to define a primary palette—the core, recognizable colors of the brand—and a secondary palette, a wider range of complementary colors for accents, illustrations, or data visualizations. 76 The primary goal of good chart design is to minimize this extraneous load. Use a piece of wire or a bungee cord to hang the caliper securely from the suspension spring or another sturdy point. For families, the offerings are equally diverse, including chore charts to instill responsibility, reward systems to encourage good behavior, and an infinite universe of coloring pages and activity sheets to keep children entertained and engaged without resorting to screen time. Learning to embrace, analyze, and even find joy in the constraints of a brief is a huge marker of professional maturity. Instead, they free us up to focus on the problems that a template cannot solve. It is still connected to the main logic board by several fragile ribbon cables. Presentation Templates: Tools like Microsoft PowerPoint and Google Slides offer templates that help create visually appealing and cohesive presentations. This could be incredibly valuable for accessibility, or for monitoring complex, real-time data streams. This system is your gateway to navigation, entertainment, and communication. The catalog, in this naive view, was a simple ledger of these values, a transparent menu from which one could choose, with the price acting as a reliable guide to the quality and desirability of the goods on offer. Your seat should be adjusted so that you can comfortably reach the pedals without fully extending your legs, and your back should be firmly supported by the seatback. Amigurumi, the Japanese art of crocheting small, stuffed animals and creatures, has become incredibly popular in recent years, showcasing the playful and whimsical side of crochet. Thus, the printable chart makes our goals more memorable through its visual nature, more personal through the act of writing, and more motivating through the tangible reward of tracking progress. This one is also a screenshot, but it is not of a static page that everyone would have seen. I see it now for what it is: not an accusation, but an invitation. 3 A chart is a masterful application of this principle, converting lists of tasks, abstract numbers, or future goals into a coherent visual pattern that our brains can process with astonishing speed and efficiency. For most of human existence, design was synonymous with craft. Digital notifications, endless emails, and the persistent hum of connectivity create a state of information overload that can leave us feeling drained and unfocused. It is a private, bespoke experience, a universe of one. It’s not a linear path from A to B but a cyclical loop of creating, testing, and refining. The gap between design as a hobby or a form of self-expression and design as a profession is not a small step; it's a vast, complicated, and challenging chasm to cross, and it has almost nothing to do with how good your taste is or how fast you are with the pen tool.Carefree RV Awning Drive Head R001644WHT
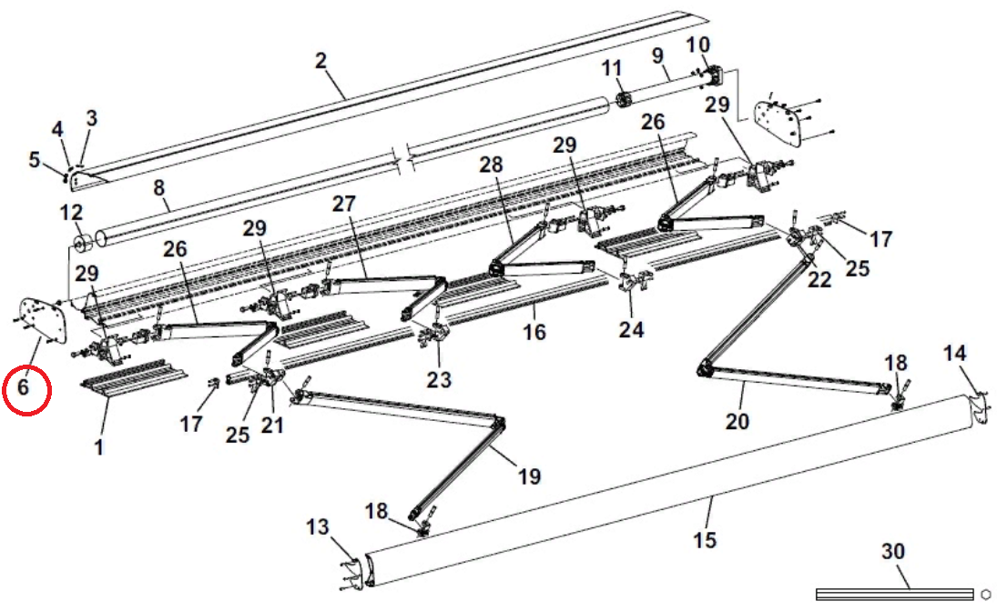
Carefree Fiesta Awning Diagram Caravan Parts
Carefree Fiesta Awning Parts Shade Pro
Carefree Fiesta Awning Parts Diagram Guide
Carefree RV Awning Drive Head R001593WHT
CAREFREE FIESTA CARAVAN AWNING REPLACEMENT TORSION SPRING CAM END. 18
Carefree Awning Replacement Parts Reviewmotors.co
Carefree of Colorado Awning Parts Diagram Overview
Carefree Rv Awning Replacement Parts Reviewmotors.co
Carefree RV Awning Rafter VI Assembly Arm Satin/ Black 902860
Carefree RV Awning Bumper R040198
Carefree Awning Parts Diagram and Assembly Guide
Carefree RV Awning Rivets R00625WHT
Carefree RV Awning Drive Head R001644WHT
Carefree Awning Parts Diagram and Breakdown
Carefree RV Carefree RV Awning Mounting Kit White Three Bracket 114
Carefree Awning Parts Diagram
Carefree Awning Parts Diagram
Carefree RV OEM Universal Curved Arms Arm R0041320155
Carefree RV Marquee Awning Arm R019853001
Carefree RV Awning Lead Rail Connector R019269001
Carefree RV Awning End Plate R001377
Carefree RV Awning Fascia R001534
Carefree RV Awning Rafter Bracket R00132
Carefree Awning Parts Diagram and Assembly Guide
Carefree RV Marquee Awnings Arm Mounting Hardware R040751001
Carefree RV Awning Idler Cover R001785006
Carefree RV Lance Truck In Awning Arm R00906
Carefree Awning Parts Diagram and Breakdown
Carefree RV Awning Bracket R012660001
Carefree RV Awning Motor Cover R001931006
CAREFREE FIESTA CARAVAN AWNING REPLACEMENT TORSION SPRING CAM END. 18
Carefree RV Awning Bracket R001181BLK
Carefree RV Freedom Awnings Arm R040792006
Carefree RV Awning End Cap R001594BLK
Related Post:


































