Bareco Tractor Parts Catalog
Bareco Tractor Parts Catalog - The website we see, the grid of products, is not the catalog itself; it is merely one possible view of the information stored within that database, a temporary manifestation generated in response to a user's request. This type of sample represents the catalog as an act of cultural curation. Our brains are not naturally equipped to find patterns or meaning in a large table of numbers. The page is stark, minimalist, and ordered by an uncompromising underlying grid. He used animated scatter plots to show the relationship between variables like life expectancy and income for every country in the world over 200 years. They can filter the data, hover over points to get more detail, and drill down into different levels of granularity. It can create a false sense of urgency with messages like "Only 2 left in stock!" or "15 other people are looking at this item right now!" The personalized catalog is not a neutral servant; it is an active and sophisticated agent of persuasion, armed with an intimate knowledge of your personal psychology. This one is also a screenshot, but it is not of a static page that everyone would have seen. You have to believe that the hard work you put in at the beginning will pay off, even if you can't see the immediate results. These physical examples remind us that the core function of a template—to provide a repeatable pattern for creation—is a timeless and fundamental principle of making things. Brake dust can be corrosive, so use a designated wheel cleaner and a soft brush to keep them looking their best. This eliminates the guesswork and the inconsistencies that used to plague the handoff between design and development. It is essential to always replace brake components in pairs to ensure even braking performance. 46 By mapping out meals for the week, one can create a targeted grocery list, ensure a balanced intake of nutrients, and eliminate the daily stress of deciding what to cook. This led me to a crucial distinction in the practice of data visualization: the difference between exploratory and explanatory analysis. They can convey cultural identity, express artistic innovation, and influence emotional responses. From the intricate patterns of lace shawls to the cozy warmth of a hand-knitted sweater, knitting offers endless possibilities for those who take up the needles. In addition to its artistic value, drawing also has practical applications in various fields, including design, architecture, engineering, and education. Templates for newsletters and social media posts facilitate consistent and effective communication with supporters and stakeholders. Regular maintenance will not only keep your planter looking its best but will also prevent the buildup of any potentially harmful bacteria or fungi, ensuring a healthy environment for your plants to thrive. They are fundamental aspects of professional practice. A printable version of this chart ensures that the project plan is a constant, tangible reference for the entire team. The design philosophy behind an effective printable template is centered on the end-user and the final, physical artifact. We stress the importance of working in a clean, well-lit, and organized environment to prevent the loss of small components and to ensure a successful repair outcome. This collaborative spirit extends to the whole history of design. A financial advisor could share a "Monthly Budget Worksheet. The sheer visual area of the blue wedges representing "preventable causes" dwarfed the red wedges for "wounds. To achieve this seamless interaction, design employs a rich and complex language of communication. The interior rearview mirror should provide a panoramic view of the scene directly behind your vehicle through the rear window. Wash your vehicle regularly with a mild automotive soap, and clean the interior to maintain its condition. If for some reason the search does not yield a result, double-check that you have entered the model number correctly. In our modern world, the printable chart has found a new and vital role as a haven for focused thought, a tangible anchor in a sea of digital distraction. Imagine a single, preserved page from a Sears, Roebuck & Co. The typography and design of these prints can be beautiful. Whether we are sketching in the margins of a notebook or painting on a grand canvas, drawing allows us to tap into our innermost selves and connect with the world around us in meaningful and profound ways. The next frontier is the move beyond the screen. Here are some key benefits: Continuing Your Artistic Journey Spreadsheet Templates: Utilized in programs like Microsoft Excel and Google Sheets, these templates are perfect for financial planning, budgeting, project management, and data analysis. This is the catalog as an environmental layer, an interactive and contextual part of our physical reality. But this infinite expansion has come at a cost. The card catalog, like the commercial catalog that would follow and perfect its methods, was a tool for making a vast and overwhelming collection legible, navigable, and accessible. Make sure there are no loose objects on the floor that could interfere with the operation of the pedals. There are no smiling children, no aspirational lifestyle scenes. It was a tool for education, subtly teaching a generation about Scandinavian design principles: light woods, simple forms, bright colors, and clever solutions for small-space living. I know I still have a long way to go, but I hope that one day I'll have the skill, the patience, and the clarity of thought to build a system like that for a brand I believe in. A simple video could demonstrate a product's features in a way that static photos never could. 61 Another critical professional chart is the flowchart, which is used for business process mapping. The very design of the catalog—its order, its clarity, its rejection of ornamentation—was a demonstration of the philosophy embodied in the products it contained. Artists must also be careful about copyright infringement. It is the language of the stock market, of climate change data, of patient monitoring in a hospital. A powerful explanatory chart often starts with a clear, declarative title that states the main takeaway, rather than a generic, descriptive title like "Sales Over Time. In his 1786 work, "The Commercial and Political Atlas," he single-handedly invented or popularised three of the four horsemen of the modern chart apocalypse: the line chart, the bar chart, and later, the pie chart. The sample is no longer a representation on a page or a screen; it is an interactive simulation integrated into your own physical environment. Reading his book, "The Visual Display of Quantitative Information," was like a religious experience for a budding designer. The climate control system is located just below the multimedia screen, with physical knobs and buttons for temperature and fan speed adjustment, ensuring you can make changes easily without diverting your attention from the road. Unlike other art forms that may require specialized tools or training, drawing can be practiced by anyone, anywhere, at any time. As we look to the future, it is clear that crochet will continue to evolve and inspire. While digital planners offer undeniable benefits like accessibility from any device, automated reminders, and easy sharing capabilities, they also come with significant drawbacks. A truncated axis, one that does not start at zero, can dramatically exaggerate differences in a bar chart, while a manipulated logarithmic scale can either flatten or amplify trends in a line chart. We find it in the first chipped flint axe, a tool whose form was dictated by the limitations of its material and the demands of its function—to cut, to scrape, to extend the power of the human hand. The "catalog" is a software layer on your glasses or phone, and the "sample" is your own living room, momentarily populated with a digital ghost of a new sofa. The price of a piece of furniture made from rare tropical hardwood does not include the cost of a degraded rainforest ecosystem, the loss of biodiversity, or the displacement of indigenous communities. 71 This eliminates the technical barriers to creating a beautiful and effective chart. The first major shift in my understanding, the first real crack in the myth of the eureka moment, came not from a moment of inspiration but from a moment of total exhaustion. This shift from a static artifact to a dynamic interface was the moment the online catalog stopped being a ghost and started becoming a new and powerful entity in its own right. 8 This is because our brains are fundamentally wired for visual processing. The future is, in many exciting ways, printable. The goal then becomes to see gradual improvement on the chart—either by lifting a little more weight, completing one more rep, or finishing a run a few seconds faster. We began with the essential preparatory steps of locating your product's model number and ensuring your device was ready. What are their goals? What are their pain points? What does a typical day look like for them? Designing for this persona, instead of for yourself, ensures that the solution is relevant and effective. A Sankey diagram is a type of flow diagram where the width of the arrows is proportional to the flow quantity. 19 A famous study involving car wash loyalty cards found that customers who were given a card with two "free" stamps already on it were almost twice as likely to complete the card as those who were given a blank card requiring fewer purchases. The copy is intellectual, spare, and confident. 55 Furthermore, an effective chart design strategically uses pre-attentive attributes—visual properties like color, size, and position that our brains process automatically—to create a clear visual hierarchy. The universe of available goods must be broken down, sorted, and categorized. It achieves this through a systematic grammar, a set of rules for encoding data into visual properties that our eyes can interpret almost instantaneously. The natural human reaction to criticism of something you’ve poured hours into is to become defensive. This is a messy, iterative process of discovery. By understanding the unique advantages of each medium, one can create a balanced system where the printable chart serves as the interface for focused, individual work, while digital tools handle the demands of connectivity and collaboration.Home Bare Co USA
Products Westlands Engineering & Hydraulics
John Deere BareCo Parts Emmetts Shop
Tractor Parts Volume 1 Front Cover (Page 1) Sparex Parts Lists
Visualizing John Deere Parts An Illustrated PDF Guide
Exploring the Components of the Ford 4400 Tractor A Detailed Parts Diagram
Ford 5110 5900 6410 6710 6810 7410 7610 6610 56106610 Tractor Parts
Home Bare Co
Home Bare Co
Unveiling the 4610 Ford Tractor Parts Diagram A Comprehensive Breakdown
Queensland Tractor Spares and Tractor Parts Bareco Front King Pin
Exploring the Components of a Husqvarna Lawn Tractor A Detailed Diagram
Home Bare Co
Understanding the Kubota L4060 Parts Diagram A Comprehensive Guide
Bare Co Mirco Ag Equipment
BareCo Parts Huge range of affordable tractor parts
9995 Series Tractor Canopies and Mounting Kits Freight paid to any d
P675 Series Bare Co
Kubota b6000 tractor parts catalogue manual PDF
Home Bare Co New Zealand
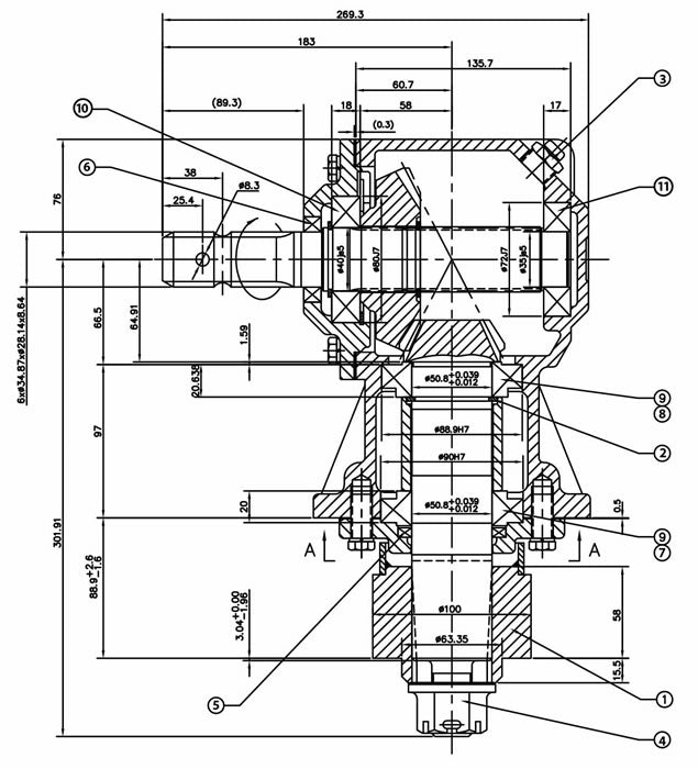
Queensland Tractor Spares and Tractor Parts Bareco Front King Pin
Branson Tractor Parts Diagram
P675 Series Bare Co
Valtra AG Tractors Spare Parts Catalog Download
Exploring Ford 2000 Tractor Distributor Parts A Visual Guide
Massey Ferguson North America Spare Parts Catalog Download
9980 Series Q1B Slasher Gearbox Bareco 50HP Uniclamp
The Complete John Deere Parts Diagrams Guide for Lawn Tractor Owners
Understanding Kubota Tractor Parts A Visual Guide
Queensland Tractor Spares and Tractor Parts Ford 2000, 3000, 4000
Home Bare Co
Illustrating the Engine Parts Diagram of the 1972 Ford 5000 Tractor
Tractor Parts Catalog PDF Piston Turbocharger
Exploring the Components John Deere 110 Lawn Tractor Parts Breakdown
Related Post:
































