Advertisement

Airstream Parts Catalog

Airstream Parts Catalog - The furniture, the iconic chairs and tables designed by Charles and Ray Eames or George Nelson, are often shown in isolation, presented as sculptural forms. The infamous "Norman Door"—a door that suggests you should pull when you need to push—is a simple but perfect example of a failure in this dialogue between object and user. The dream project was the one with no rules, no budget limitations, no client telling me what to do. Instagram, with its shopping tags and influencer-driven culture, has transformed the social feed into an endless, shoppable catalog of lifestyles. I can feed an AI a concept, and it will generate a dozen weird, unexpected visual interpretations in seconds.

Airstream Parts, Hitches, Batteries & More Airstream of South Florida
Airstream Trailer Parts Authorized Airstream Parts Dealer
Airstream Trailer Parts Authorized Airstream Parts Dealer
Airstream Electrical Woodland Airstream Parts and RV Accessories Store
Airstream Parts Manuals Woodland Airstream Parts and RV Accessories Store
Airstream Parts Manuals Woodland Airstream Parts and RV Accessories Store
1972 Airstream Service Manual* Woodland Airstream Parts and RV
Airstream Parts & Accessories Woodland Airstream Parts and RV
Airstream Parts Manuals Woodland Airstream Parts and RV Accessories Store
1985 Airstream Sales Brochure Airstream Trailer Parts
Airstream Parts List and Catalog (Where To Buy Vintage Parts)
Airstream Parts Manuals Woodland Airstream Parts and RV Accessories Store
Airstream Body Woodland Airstream Parts and RV Accessories Store
Underbelly Woodland Airstream Parts and RV Accessories Store
Airstream Furniture Woodland Airstream Parts and RV Accessories Store
Airstream Parts List Catalog Top 10 Essential Components Survival
All Zip Dee Awnings & Parts Woodland Airstream Parts and RV
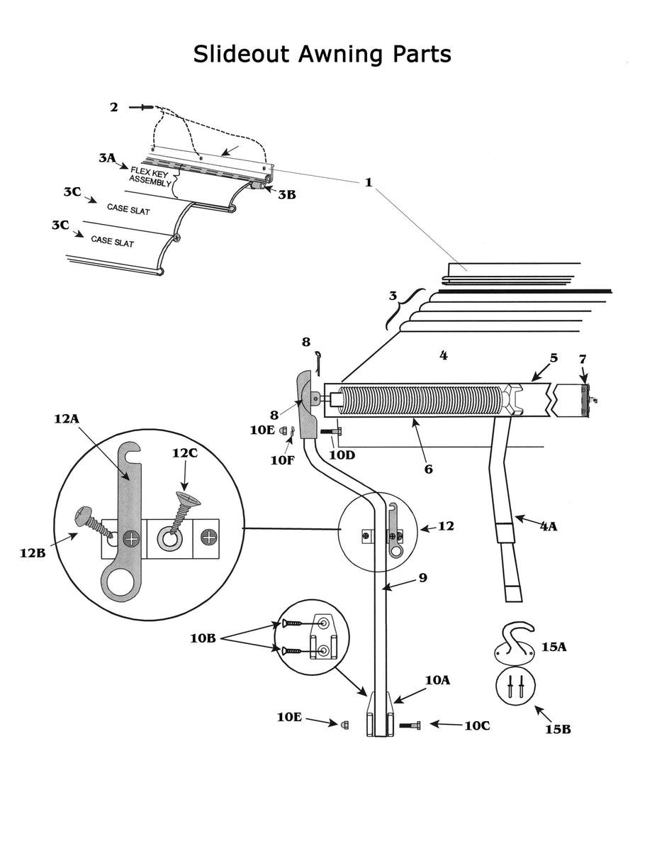
Slideout Awning Parts Woodland Airstream Parts and RV Accessories Store
Airstream Parts Diagram and Detailed Breakdown
Airstream Lower Body Aluminum Extrusion Rub Rail 11/2" 115546//1164
Airstream Rear End Shell Assembly 96451308
Airstream Plumbing Woodland Airstream Parts and RV Accessories Store
1986 Airstream Sales Brochure Airstream Trailer Parts
All Airstream Parts Woodland Airstream Parts and RV Accessories Store
Airstream Trailer Parts Authorized Airstream Parts Dealer
Airstream motorhome parts Artofit
1991 Airstream Sales Brochure Airstream Trailer Parts
1982 Airstream Sales Brochure Airstream Trailer Parts
Airstream Options & Upgrades Woodland Airstream Parts and RV
Airstream Step Parts Woodland Airstream Parts and RV Accessories Store
Airstream Parts Hitches, Batteries, & More
Service Company Airstream Vintage camper, Airstream, Vintage
Doors Woodland Airstream Parts and RV Accessories Store
Airstream Trailer Parts Authorized Airstream Parts Dealer
Airstream Parts Diagram and Detailed Breakdown

These entries can be specific, such as a kind gesture from a friend, or general, such as the beauty of nature. In the academic sphere, the printable chart is an essential instrument for students seeking to manage their time effectively and achieve academic success. Abstract goals like "be more productive" or "live a healthier lifestyle" can feel overwhelming and difficult to track. It must become an active act of inquiry. I am a user interacting with a complex and intelligent system, a system that is, in turn, learning from and adapting to me.

Related Post: