2011 Kia Sorento Door Parts Catalog
2011 Kia Sorento Door Parts Catalog - The design of this sample reflects the central challenge of its creators: building trust at a distance. Ensure your seat belt is properly fastened, with the lap belt snug and low across your hips and the shoulder belt crossing your chest. Finally, we addressed common troubleshooting scenarios to help you overcome any potential obstacles you might face. Unlike the Sears catalog, which was a shared cultural object that provided a common set of desires for a whole society, this sample is a unique, ephemeral artifact that existed only for me, in that moment. A poorly designed chart, on the other hand, can increase cognitive load, forcing the viewer to expend significant mental energy just to decode the visual representation, leaving little capacity left to actually understand the information. The system will then process your request and display the results. The online catalog is not just a tool I use; it is a dynamic and responsive environment that I inhabit. We encourage you to read this manual thoroughly before you begin, as a complete understanding of your planter’s functionalities will ensure a rewarding and successful growing experience for years to come. " We can use social media platforms, search engines, and a vast array of online tools without paying any money. The act of writing can stimulate creative thinking, allowing individuals to explore new ideas and perspectives. If you are certain it is correct, you may also try Browse for your product using the category navigation menus, selecting the product type and then narrowing it down by series until you find your model. Art Communities: Join local or online art communities where you can share your work, get feedback, and connect with other artists. The implications of this technology are staggering. What if a chart wasn't visual at all, but auditory? The field of data sonification explores how to turn data into sound, using pitch, volume, and rhythm to represent trends and patterns. These tools often begin with a comprehensive table but allow the user to actively manipulate it. Crochet, an age-old craft, has woven its way through the fabric of cultures and societies around the world, leaving behind a rich tapestry of history, technique, and artistry. It fulfills a need for a concrete record, a focused tool, or a cherished object. It excels at answering questions like which of two job candidates has a more well-rounded skill set across five required competencies. A stable internet connection is recommended to prevent interruptions during the download. I can feed an AI a concept, and it will generate a dozen weird, unexpected visual interpretations in seconds. In the event of an emergency, being prepared and knowing what to do can make a significant difference. The algorithm can provide the scale and the personalization, but the human curator can provide the taste, the context, the storytelling, and the trust that we, as social creatures, still deeply crave. It typically begins with a need. This focus on the user naturally shapes the entire design process. We encourage you to read this manual thoroughly before you begin, as a complete understanding of your planter’s functionalities will ensure a rewarding and successful growing experience for years to come. The solution is to delete the corrupted file from your computer and repeat the download process from the beginning. This strategic approach is impossible without one of the cornerstones of professional practice: the brief. In the domain of project management, the Gantt chart is an indispensable tool for visualizing and managing timelines, resources, and dependencies. They wanted to understand its scale, so photos started including common objects or models for comparison. During the Renaissance, the advent of the printing press and increased literacy rates allowed for a broader dissemination of written works, including personal journals. The first and most significant for me was Edward Tufte. Furthermore, drawing has therapeutic benefits, offering individuals a means of catharsis and self-discovery. My first few attempts at projects were exercises in quiet desperation, frantically scrolling through inspiration websites, trying to find something, anything, that I could latch onto, modify slightly, and pass off as my own. They are the cognitive equivalent of using a crowbar to pry open a stuck door. The digital format of the manual offers powerful tools that are unavailable with a printed version. A poorly designed chart can create confusion, obscure information, and ultimately fail in its mission. The goal is to create a guided experience, to take the viewer by the hand and walk them through the data, ensuring they see the same insight that the designer discovered. The constant, low-level distraction of the commercial world imposes a significant cost on this resource, a cost that is never listed on any price tag. An object’s beauty, in this view, should arise directly from its perfect fulfillment of its intended task. Slide the new brake pads into the mounting bracket, ensuring they are seated correctly. You may notice a slight smell, which is normal as coatings on the new parts burn off. It’s a pact against chaos. In many cultures, crochet techniques and patterns are handed down through generations, often accompanied by stories and memories. Your vehicle is equipped with a temporary spare tire and the necessary tools, including a jack and a lug wrench, stored in the underfloor compartment in the cargo area. The template is no longer a static blueprint created by a human designer; it has become an intelligent, predictive agent, constantly reconfiguring itself in response to your data. The Bauhaus school in Germany, perhaps the single most influential design institution in history, sought to reunify art, craft, and industry. A simple sheet of plastic or metal with shapes cut out of it, a stencil is a template that guides a pen or a paintbrush to create a consistent letter, number, or design. This assembly is heavy, weighing approximately 150 kilograms, and must be supported by a certified lifting device attached to the designated lifting eyes on the cartridge. The Command Center of the Home: Chore Charts and Family PlannersIn the busy ecosystem of a modern household, a printable chart can serve as the central command center, reducing domestic friction and fostering a sense of shared responsibility. But what happens when it needs to be placed on a dark background? Or a complex photograph? Or printed in black and white in a newspaper? I had to create reversed versions, monochrome versions, and define exactly when each should be used. I now believe they might just be the most important. You can find printable coloring books on virtually any theme. As technology advances, new tools and resources are becoming available to knitters, from digital patterns and tutorials to 3D-printed knitting needles and yarns. In such a world, the chart is not a mere convenience; it is a vital tool for navigation, a lighthouse that can help us find meaning in the overwhelming tide. The product must solve a problem or be visually appealing. They are an engineer, a technician, a professional who knows exactly what they need and requires precise, unambiguous information to find it. 93 However, these benefits come with significant downsides. Its genius lies in what it removes: the need for cognitive effort. Is this system helping me discover things I will love, or is it trapping me in a filter bubble, endlessly reinforcing my existing tastes? This sample is a window into the complex and often invisible workings of the modern, personalized, and data-driven world. Learning to ask clarifying questions, to not take things personally, and to see every critique as a collaborative effort to improve the work is an essential, if painful, skill to acquire. Carefully remove each component from its packaging and inspect it for any signs of damage that may have occurred during shipping. A solid collection of basic hand tools will see you through most jobs. An explanatory graphic cannot be a messy data dump. There is also the cost of the idea itself, the intellectual property. Over-reliance on AI without a critical human eye could lead to the proliferation of meaningless or even biased visualizations. A designer working with my manual wouldn't have to waste an hour figuring out the exact Hex code for the brand's primary green; they could find it in ten seconds and spend the other fifty-nine minutes working on the actual concept of the ad campaign. The Lane Keeping Assist system helps prevent unintentional lane departures by providing gentle steering inputs to keep the vehicle centered in its lane. The catalog is no longer a shared space with a common architecture. The chart tells a harrowing story. They conducted experiments to determine a hierarchy of these visual encodings, ranking them by how accurately humans can perceive the data they represent. This democratizes access to professional-quality tools and resources. 55 The use of a printable chart in education also extends to being a direct learning aid. It begins with defining the overall objective and then identifying all the individual tasks and subtasks required to achieve it. It’s a checklist of questions you can ask about your problem or an existing idea to try and transform it into something new. In an age where our information is often stored in remote clouds and accessed through glowing screens, the printable offers a comforting and empowering alternative. I pictured my classmates as these conduits for divine inspiration, effortlessly plucking incredible ideas from the ether while I sat there staring at a blank artboard, my mind a staticky, empty canvas. Reinstall the two caliper guide pin bolts and tighten them to their specified torque. The cost catalog would also need to account for the social costs closer to home. Modern-Day Crochet: A Renaissance In recent years, the knitting community has become more inclusive and diverse, welcoming people of all backgrounds, genders, and identities. When the story is about composition—how a whole is divided into its constituent parts—the pie chart often comes to mind.20112015 Kia Sorento Door Latch Assembly Genuine W01331988499
Anatomy of Kia Sorento A Visual Guide to its Parts
Kia Sorento Door Window Belt Weatherstrip (Right, Rear) 832201U010
20112015 Kia Sorento Door Shell Passenger Side (RH) 760041U010
How to Find and Understand the Kia Sorento Parts Diagram for Easy Repairs
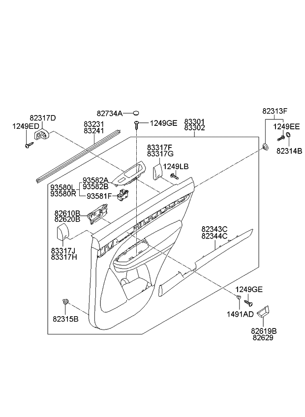
Kia Sorento Rear Door Components Exterior Body (Interior and
2011 To 2015 Kia Sorento How To Remove Door Panel & Upgrade Speaker
833011U500AKL Door Interior Trim Panel 2011 Kia Sorento Kia.Parts
Kia Sorento 2011 Exploring its Parts Diagram
2011 Kia Sorento Rear Door Trim Kia Parts Now
Kia Sorento 2011 Exploring its Parts Diagram
2011 Kia Sorento Rear Door Locking Kia Parts Now
Kia Sorento 2011 Exploring its Parts Diagram
20112015 Kia Sorento OEM NEW 201115 Kia Checker AssemblyFront Door
GENUINE Front Door Lock Actuator RIGHT for 20112015 Kia Sorento OEM 8
2011 Kia Sorento Parts Diagram and Overview
Catalogo de Partes KIA SORENTO 2011 AutoPartes y Refacciones
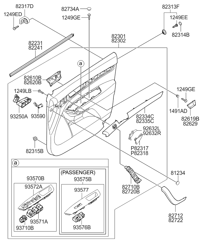
2011 Kia Sorento PanelFront Door Kia Parts Now
20112015 Kia Sorento OEM NEW 1115 Kia Sorento Left Base Assembly Rear
2011 Kia Sorento Rear Door Window Regulator & Glass
Lcyolada 4Pcs Exterior Door Handle for Kia Sorento 2011
2011 Kia Sorento Parts Diagram and Overview
2011 Kia Sorento TrimFront Door Kia Parts Now
Anatomy of Kia Sorento A Visual Guide to its Parts
Exploring the Components of Kia Sorento's 2011 Rear Door A Detailed
Kia Sorento Component Location Power Door Locks Body Electrical
2011 Kia Sorento Parts Diagram and Overview
2016 Kia Sorento Console Kia Parts Now
Kia Sorento Door Shell (Right, Front). W/molding 760041U010 KIA
20112013 Kia Sorento Driver's & Passenger's Front Door Panel Removal
APPERFiT Exterior Door Handle Set 4PCS Chrome w/Gasket Pad
Anatomy of Kia Sorento A Visual Guide to its Parts
Lcyolada 4Pcs Exterior Door Handle Set for Kia Sorento 2011
Kia Sorento 2011 Exploring its Parts Diagram
Kia Parts Diagram 38 Kia Sportage Parts Diagram
Related Post:


































