2002 Acura Tl Parts Catalog
2002 Acura Tl Parts Catalog - Your safety and the safety of your passengers are always the top priority. It is a mental exercise so ingrained in our nature that we often perform it subconsciously. It was beautiful not just for its aesthetic, but for its logic. The printable is a tool of empowerment, democratizing access to information, design, and even manufacturing. It was a visual argument, a chaotic shouting match. 13 A printable chart visually represents the starting point and every subsequent step, creating a powerful sense of momentum that makes the journey toward a goal feel more achievable and compelling. Even home decor has entered the fray, with countless websites offering downloadable wall art, featuring everything from inspirational quotes to botanical illustrations, allowing anyone to refresh their living space with just a frame and a sheet of quality paper. A client saying "I don't like the color" might not actually be an aesthetic judgment. A fair and useful chart is built upon criteria that are relevant to the intended audience and the decision to be made. Fasten your seatbelt, ensuring the lap portion is snug and low across your hips and the shoulder portion lies flat across your chest. It was a shared cultural artifact, a snapshot of a particular moment in design and commerce that was experienced by millions of people in the same way. It reveals a nation in the midst of a dramatic transition, a world where a farmer could, for the first time, purchase the same manufactured goods as a city dweller, a world where the boundaries of the local community were being radically expanded by a book that arrived in the mail. He famously said, "The greatest value of a picture is when it forces us to notice what we never expected to see. Visually inspect all components for signs of overheating, such as discoloration of wires or plastic components. It is a minimalist aesthetic, a beauty of reason and precision. Furthermore, in these contexts, the chart often transcends its role as a personal tool to become a social one, acting as a communication catalyst that aligns teams, facilitates understanding, and serves as a single source of truth for everyone involved. They can also contain multiple pages in a single file. The printable chart is also an invaluable asset for managing personal finances and fostering fiscal discipline. The catalog's demand for our attention is a hidden tax on our mental peace. It considers the entire journey a person takes with a product or service, from their first moment of awareness to their ongoing use and even to the point of seeking support. But our understanding of that number can be forever changed. It's the difference between building a beautiful bridge in the middle of a forest and building a sturdy, accessible bridge right where people actually need to cross a river. It’s the discipline of seeing the world with a designer’s eye, of deconstructing the everyday things that most people take for granted. 59 These tools typically provide a wide range of pre-designed templates for everything from pie charts and bar graphs to organizational charts and project timelines. If you see your exact model number appear, you can click on it to proceed directly. They are the first clues, the starting points that narrow the infinite universe of possibilities down to a manageable and fertile creative territory. This is not mere decoration; it is information architecture made visible. 27 This process connects directly back to the psychology of motivation, creating a system of positive self-reinforcement that makes you more likely to stick with your new routine. It's about collaboration, communication, and a deep sense of responsibility to the people you are designing for. The procedure for servicing the 12-station hydraulic turret begins with bleeding all pressure from the hydraulic system. This sample is not about instant gratification; it is about a slow, patient, and rewarding collaboration with nature. The moment I feel stuck, I put the keyboard away and grab a pen and paper. The spindle motor itself does not need to be removed for this procedure. I read the classic 1954 book "How to Lie with Statistics" by Darrell Huff, and it felt like being given a decoder ring for a secret, deceptive language I had been seeing my whole life without understanding. It was, in essence, an attempt to replicate the familiar metaphor of the page in a medium that had no pages. Carefully align the top edge of the screen assembly with the rear casing and reconnect the three ribbon cables to the main logic board, pressing them firmly into their sockets. In digital animation, an animator might use the faint ghost template of the previous frame, a technique known as onion-skinning, to create smooth and believable motion, ensuring each new drawing is a logical progression from the last. The modernist maxim, "form follows function," became a powerful mantra for a generation of designers seeking to strip away the ornate and unnecessary baggage of historical styles. A professional is often tasked with creating a visual identity system that can be applied consistently across hundreds of different touchpoints, from a website to a business card to a social media campaign to the packaging of a product. A database, on the other hand, is a living, dynamic, and endlessly queryable system. The template is a distillation of experience and best practices, a reusable solution that liberates the user from the paralysis of the blank page and allows them to focus their energy on the unique and substantive aspects of their work. In these future scenarios, the very idea of a static "sample," a fixed page or a captured screenshot, begins to dissolve. A printable is more than just a file; it is a promise of transformation, a digital entity imbued with the specific potential to become a physical object through the act of printing. Before InDesign, there were physical paste-up boards, with blue lines printed on them that wouldn't show up on camera, marking out the columns and margins for the paste-up artist. These include everything from daily planners and budget trackers to children’s educational worksheets and coloring pages. From there, you might move to wireframes to work out the structure and flow, and then to prototypes to test the interaction. It was in a second-year graphic design course, and the project was to create a multi-page product brochure for a fictional company. The goal is not to come up with a cool idea out of thin air, but to deeply understand a person's needs, frustrations, and goals, and then to design a solution that addresses them. It was a system of sublime logic and simplicity, where the meter was derived from the Earth's circumference, the gram was linked to the mass of water, and the liter to its volume. A design system in the digital world is like a set of Lego bricks—a collection of predefined buttons, forms, typography styles, and grid layouts that can be combined to build any number of new pages or features quickly and consistently. Influencers on social media have become another powerful force of human curation. Many users send their files to local print shops for professional quality. Every element on the chart should serve this central purpose. This file can be stored, shared, and downloaded with effortless precision. My earliest understanding of the world of things was built upon this number. A graphic design enthusiast might create a beautiful monthly calendar and offer it freely as an act of creative expression and sharing. It has made our lives more convenient, given us access to an unprecedented amount of choice, and connected us with a global marketplace of goods and ideas. For each and every color, I couldn't just provide a visual swatch. He used animated scatter plots to show the relationship between variables like life expectancy and income for every country in the world over 200 years. For a creative printable template, such as one for a papercraft model, the instructions must be unambiguous, with clear lines indicating where to cut, fold, or glue. This printable file already contains a clean, professional layout with designated spaces for a logo, client information, itemized services, costs, and payment terms. Using a PH000 screwdriver, remove these screws and the bracket. Following Playfair's innovations, the 19th century became a veritable "golden age" of statistical graphics, a period of explosive creativity and innovation in the field. They are beautiful not just for their clarity, but for their warmth, their imperfection, and the palpable sense of human experience they contain. " It was our job to define the very essence of our brand and then build a system to protect and project that essence consistently. It was a constant dialogue. Modern websites, particularly in e-commerce and technology sectors, now feature interactive comparison tools that empower the user to become the architect of their own analysis. Assuming everything feels good, you have successfully completed a major repair, saved a significant amount of money, and gained invaluable experience and confidence in your ability to maintain your own vehicle. Some of the best ideas I've ever had were not really my ideas at all, but were born from a conversation, a critique, or a brainstorming session with my peers. But this focus on initial convenience often obscures the much larger time costs that occur over the entire lifecycle of a product. For the first time, a text became printable in a sense we now recognize: capable of being reproduced in vast quantities with high fidelity. It is a private, bespoke experience, a universe of one. 8 This significant increase is attributable to two key mechanisms: external storage and encoding. Our cities are living museums of historical ghost templates. For these customers, the catalog was not one of many shopping options; it was a lifeline, a direct connection to the industrializing, modern world. The culinary arts provide the most relatable and vivid example of this.2002 Acura TL Exhaust Parts Diagram and Breakdown
20002003 Acura TL Main Relay API 595207446912
2002 Acura TL in our Factory Match Black Burlwood material Acura tl
2002 Acura Tl Interior
No Reserve 34kMile 2002 Acura 3.2TL for sale on BaT Auctions sold
2002 Acura TL Brochure
2002 ACURA TL FACTORY REPAIR SERVICE MANUAL PDF
Catálogo de Partes Acura TL 2012 AutoPartes y efacciones Descarga Gratis
HOME Acura TL Spare Parts
2002 Acura Tl Engine The 2002 2003 Acura TL Is A Luxury Sedan Known
Acura TL (2002) wiring diagrams transmission controls
2002 Acura Tl
2002 Acura Tl S Type
Acura Cl Type S Parts 1999 2000 2001 2002 2003 ACURA TL ASPEC STYLE
No Reserve 2002 Acura TL TypeS for sale on BaT Auctions sold for
Acura Tl Engine Bay Diagram Acura Tl Parts Diagram
Denso® Acura TL 2002 Remanufactured Alternator
Q&A TLS Diesel Repair Services & Auto Specialist Acura TLS 2002
My 2002 Acura TL passenger side HID headlight does not come on...tried
2002 Acura TL Brochure
Understanding the Acura TL parts diagram of 2008
Acura TL (2002) wiring diagrams transmission controls
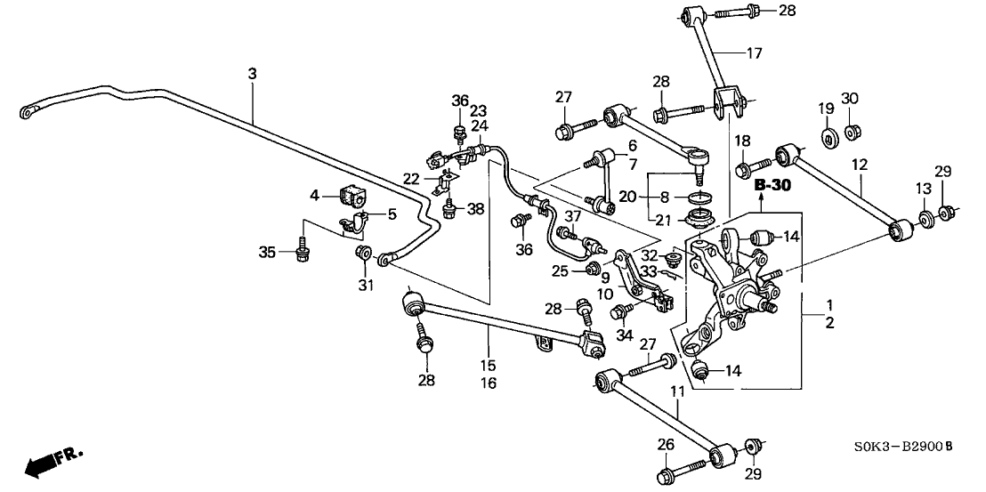
2002 Acura TL 4 Door TYPES KA 5AT Rear Lower Arm
Acura Tl Type S Parts
Acura Tl 1999 Parts ACURA TL BUMPERS PARE CHOCS 514parts.ca
2002 Acura TL for Sale in WA OfferUp
2002 Acura TL Accessories & Parts CARiD
2002 ACURA TL FACTORY REPAIR SERVICE MANUAL PDF
Understanding the Acura TL parts diagram of 2008
2002 Acura TL Sierra Auction Management Inc
Acura TL Parts Car Parting Out Extreme Auto Parts
2002 Tl Acura
2002 Acura TL fuse box diagram StartMyCar
Related Post:





























