1989 Jeep Comanche Parts Catalog
1989 Jeep Comanche Parts Catalog - It has to be focused, curated, and designed to guide the viewer to the key insight. Abstract ambitions like "becoming more mindful" or "learning a new skill" can be made concrete and measurable with a simple habit tracker chart. The typographic system defined in the manual is what gives a brand its consistent voice when it speaks in text. It is the generous act of solving a problem once so that others don't have to solve it again and again. Crochet is more than just a craft; it is a means of preserving cultural heritage and passing down traditions. The user of this catalog is not a casual browser looking for inspiration. A series of bar charts would have been clumsy and confusing. Here, you can specify the page orientation (portrait or landscape), the paper size, and the print quality. A vast number of free printables are created and shared by teachers, parents, and hobbyists who are genuinely passionate about helping others. In these future scenarios, the very idea of a static "sample," a fixed page or a captured screenshot, begins to dissolve. And this idea finds its ultimate expression in the concept of the Design System. The procedures outlined within these pages are designed to facilitate the diagnosis, disassembly, and repair of the ChronoMark unit. It starts with choosing the right software. They feature editorial sections, gift guides curated by real people, and blog posts that tell the stories behind the products. A tall, narrow box implicitly suggested a certain kind of photograph, like a full-length fashion shot. When replacing a component like a servo drive, it is critical to first back up all parameters from the old drive using the control interface, if possible. The digital template, in all these forms, has become an indispensable productivity aid, a testament to the power of a good template. Any good physical template is a guide for the hand. The collective memory of a significant trauma, such as a war, a famine, or a natural disaster, can create a deeply ingrained social ghost template. 67In conclusion, the printable chart stands as a testament to the enduring power of tangible, visual tools in a world saturated with digital ephemera. Is it a threat to our jobs? A crutch for uninspired designers? Or is it a new kind of collaborative partner? I've been experimenting with them, using them not to generate final designs, but as brainstorming partners. The enduring power of this simple yet profound tool lies in its ability to translate abstract data and complex objectives into a clear, actionable, and visually intuitive format. These works often address social and political issues, using the familiar medium of yarn to provoke thought and conversation. They wanted to see the details, so zoom functionality became essential. They can filter the criteria, hiding the rows that are irrelevant to their needs and focusing only on what matters to them. A certain "template aesthetic" emerges, a look that is professional and clean but also generic and lacking in any real personality or point of view. From a simple checklist to complex 3D models, the printable defines our time. Unlike a building or a mass-produced chair, a website or an app is never truly finished. The invention of desktop publishing software in the 1980s, with programs like PageMaker, made this concept more explicit. It was a slow, frustrating, and often untrustworthy affair, a pale shadow of the rich, sensory experience of its paper-and-ink parent. 26 By creating a visual plan, a student can balance focused study sessions with necessary breaks, which is crucial for preventing burnout and facilitating effective learning. We looked at the New York City Transit Authority manual by Massimo Vignelli, a document that brought order to the chaotic complexity of the subway system through a simple, powerful visual language. It is a silent language spoken across millennia, a testament to our innate drive to not just inhabit the world, but to author it. The printable is a tool of empowerment, democratizing access to information, design, and even manufacturing. But this also comes with risks. The digital instrument cluster behind the steering wheel is a fully configurable high-resolution display. The foundation of most charts we see today is the Cartesian coordinate system, a conceptual grid of x and y axes that was itself a revolutionary idea, a way of mapping number to space. I was witnessing the clumsy, awkward birth of an entirely new one. A designer decides that this line should be straight and not curved, that this color should be warm and not cool, that this material should be smooth and not rough. 38 The printable chart also extends into the realm of emotional well-being. The concept has leaped from the two-dimensional plane of paper into the three-dimensional world of physical objects. The template is not a cage; it is a well-designed stage, and it is our job as designers to learn how to perform upon it with intelligence, purpose, and a spark of genuine inspiration. From traditional graphite pencils to modern digital tablets, the tools of the trade continue to evolve, empowering artists to push the boundaries of their creativity. Form and function are two sides of the same coin, locked in an inseparable and dynamic dance. The future will require designers who can collaborate with these intelligent systems, using them as powerful tools while still maintaining their own critical judgment and ethical compass. It requires a deep understanding of the brand's strategy, a passion for consistency, and the ability to create a system that is both firm enough to provide guidance and flexible enough to allow for creative application. A user can select which specific products they wish to compare from a larger list. It connects a series of data points over a continuous interval, its peaks and valleys vividly depicting growth, decline, and volatility. The natural human reaction to criticism of something you’ve poured hours into is to become defensive. The 3D perspective distorts the areas of the slices, deliberately lying to the viewer by making the slices closer to the front appear larger than they actually are. It begins with an internal feeling, a question, or a perspective that the artist needs to externalize. The goal is to find out where it’s broken, where it’s confusing, and where it’s failing to meet their needs. The "shopping cart" icon, the underlined blue links mimicking a reference in a text, the overall attempt to make the website feel like a series of linked pages in a book—all of these were necessary bridges to help users understand this new and unfamiliar environment. But spending a day simply observing people trying to manage their finances might reveal that their biggest problem is not a lack of features, but a deep-seated anxiety about understanding where their money is going. This dual encoding creates a more robust and redundant memory trace, making the information far more resilient to forgetting compared to text alone. We are culturally conditioned to trust charts, to see them as unmediated representations of fact. We began with the essential preparatory steps of locating your product's model number and ensuring your device was ready. When I looked back at the catalog template through this new lens, I no longer saw a cage. With the caliper out of the way, you can now remove the old brake pads. Practice Regularly: Aim to draw regularly, even if it's just for a few minutes each day. This means user research, interviews, surveys, and creating tools like user personas and journey maps. Without it, even the most brilliant creative ideas will crumble under the weight of real-world logistics. These charts were ideas for how to visualize a specific type of data: a hierarchy. This worth can be as concrete as the tonal range between pure white and absolute black in an artist’s painting, or as deeply personal and subjective as an individual’s core ethical principles. If a tab breaks, you may need to gently pry the battery up using a plastic card, being extremely careful not to bend or puncture the battery cell. The journey into the world of the comparison chart is an exploration of how we structure thought, rationalize choice, and ultimately, seek to master the overwhelming complexity of the modern world. A designer can use the components in their design file, and a developer can use the exact same components in their code. It should include a range of socket sizes, a few extensions, a universal joint, and a sturdy ratchet handle. During disassembly, be aware that some components are extremely heavy; proper lifting equipment, such as a shop crane or certified hoist, must be used to prevent crushing injuries. We all had the same logo, but it was treated so differently on each application that it was barely recognizable as the unifying element. The engine will start, and the instrument panel will illuminate. 67In conclusion, the printable chart stands as a testament to the enduring power of tangible, visual tools in a world saturated with digital ephemera. The key at every stage is to get the ideas out of your head and into a form that can be tested with real users. A more expensive toy was a better toy. The Bauhaus school in Germany, perhaps the single most influential design institution in history, sought to reunify art, craft, and industry. It is a discipline that demands clarity of thought, integrity of purpose, and a deep empathy for the audience. This type of chart empowers you to take ownership of your health, shifting from a reactive approach to a proactive one. It might be their way of saying "This doesn't feel like it represents the energy of our brand," which is a much more useful piece of strategic feedback.No Reserve OriginalOwner 1989 Jeep Comanche 5Speed 4x4 for sale on
89 Jeep Comanche Parts Diagram Overview
Exploring the Detailed Diagram of 89 Jeep Comanche Parts
Exploring the Detailed Diagram of 89 Jeep Comanche Parts
Jeep Comanche Parts Diagram and Breakdown
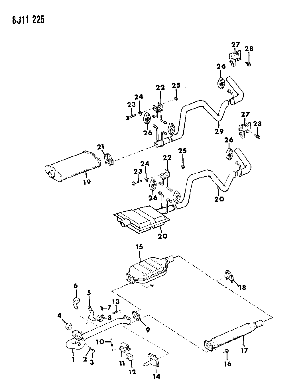
1989 Jeep Comanche Exhaust System Mopar Parts Giant
Exploring the Detailed Diagram of 89 Jeep Comanche Parts
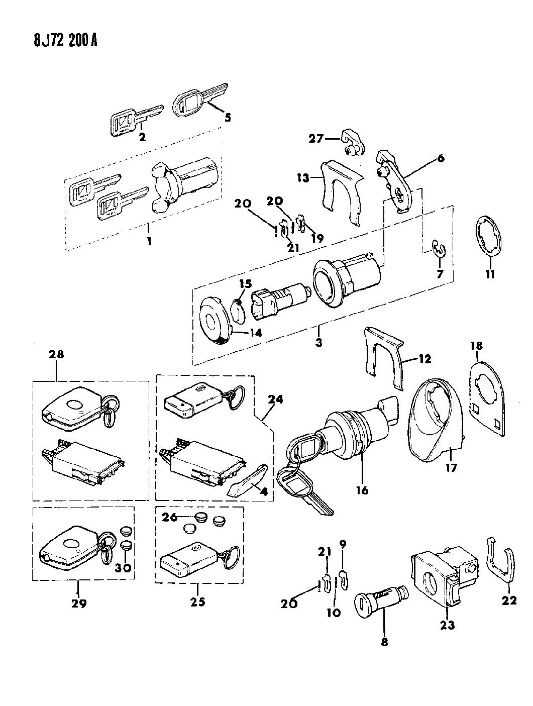
1989 Jeep Comanche Cylinders & Keys Mopar Parts Giant
Jeep Comanche Parts Diagram and Breakdown
1991 1992 1993 Jeep Dealer Parts Catalog Cherokee Wagoneer Wrangler
1991 1992 1993 Jeep Dealer Parts Catalog Cherokee Wagoneer Wrangler
1991 1992 1993 Jeep Dealer Parts Catalog Cherokee Wagoneer Wrangler
1989 Jeep Comanche Manual For Sale in Lancaster, CA
Exploring the Detailed Diagram of 89 Jeep Comanche Parts
A Detailed Breakdown of Jeep Comanche Parts
1991 1992 1993 Jeep Dealer Parts Catalog Cherokee Wagoneer Wrangler
A Detailed Breakdown of Jeep Comanche Parts
1991 1992 1993 Jeep Dealer Parts Catalog Cherokee Wagoneer Wrangler
1989 Jeep Comanche with 15x8 13 Tuff T01 and 33/12.5R15 Mastercraft
A Detailed Breakdown of Jeep Comanche Parts
Exploring the Detailed Diagram of 89 Jeep Comanche Parts
89 Jeep Comanche Parts Diagram Overview
Exploring the Detailed Diagram of 89 Jeep Comanche Parts
Exploring the Detailed Diagram of 89 Jeep Comanche Parts
Jeep Comanche Restoration Parts Jeep Comanche MJ Build Auto
19861988 Jeep Comanche Shop Manual Set ReprintM.R. 277
A Detailed Breakdown of Jeep Comanche Parts
Jeep Comanche Parts Catalog Catalog Library
The Comanche thread > General Discussion >
1991 1992 1993 Jeep Dealer Parts Catalog Cherokee Wagoneer Wrangler
19861989 Jeep Comanche Brake Shoes Hold Down Kit Raybestos H4049
1989 Jeep Comanche Bumper, Rear Step Mopar Parts Giant
89 Jeep Comanche Parts Diagram Overview
A Detailed Breakdown of Jeep Comanche Parts
Related Post:


































